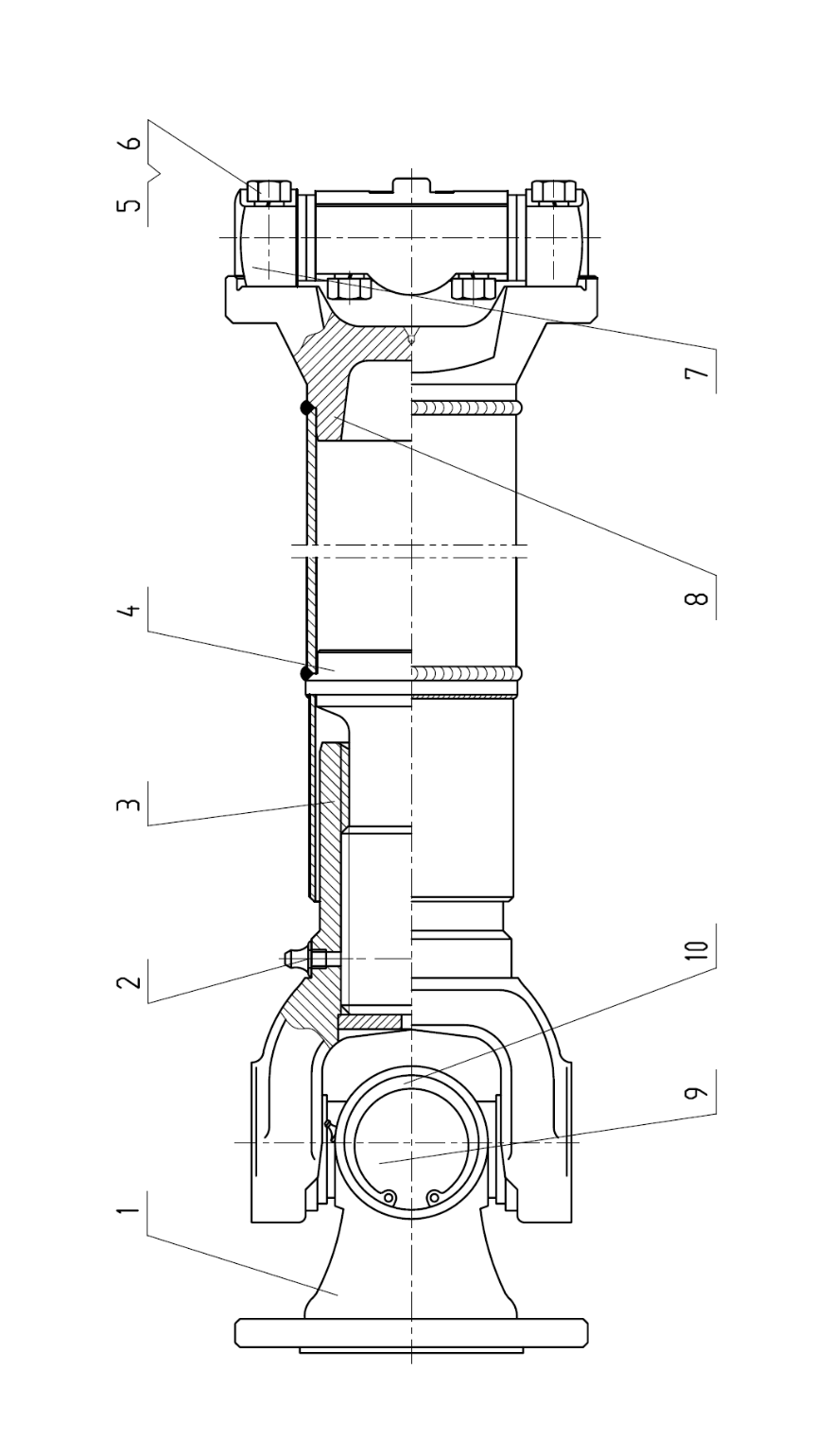
Задняя трансмиссия 500F

№ п/п

Код деталей

Наименование

Коли-во

Примечание

1

 

突缘叉

Вилка с фланцем

1

530F.1.2-1

2

801100336

油杯M10×1

Маслёнка M10×1

1

JB/T7940.1-1995

3

 

滑动叉

Скользащая вилка

1

530F.1.3

Скользащая вилка

 

4

 

花键轴

Шлицевой вал

1

530F.1.3Шлицевой вал

5

 

弹簧垫圈

Пружинная шайба

8

 

6

 

弹簧垫圈

Пружинная шайба

8

 

7

860118447

十字轴总成

Крестовидный вал

1

T160D-00

8

 

万向节叉

Вилка кардана

1

540F.3.1-02

9

860118445

十字轴总成

Перекресная ось в сборе

1

HW-CA1160K2B

10

 

挡圈48

Борткольцо

4