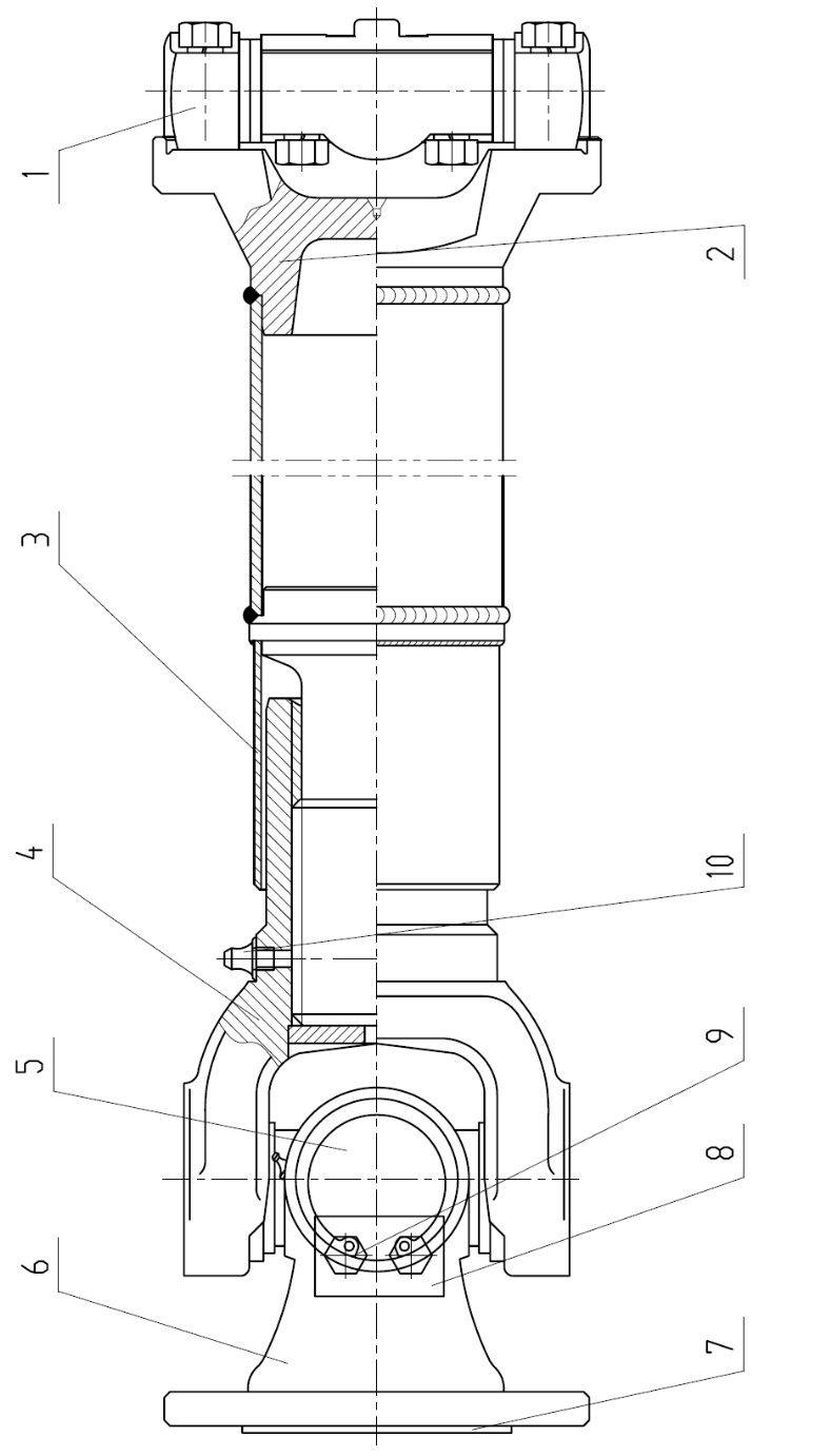
Задняя трансмиссия 251800155-101493 500F

№ п/п

Код деталей

Наименование

Коли-во

Примечание

1

860118448

万向节十字轴总成

Кардан в сборе

1

G5-7126

2

 

花键轴组件

Шлицевой вал

1

500F(II).03.2-01

3

 

防尘垫圈

Пылезащитный чехол

1

 

4

 

花键叉组件

Вилка вала шплица

1

500F(II).03.2-02

5

860118446

万向节十字轴总成

Кардан в сборе

1

EQ6D142

6

 

突缘叉

Вилка с фланцем

1

530F.1.2-01

7

 

盖板

Настил

4

530F.1.2-04

8

 

锁片

Шайба

4

530F.1.2-05

9

805000033

螺栓M8×16

Болт

8

GB/T5783-2000

10

801100336

油杯M10×1

Маслёнка M10×1

1

JB/T7940.1-1995