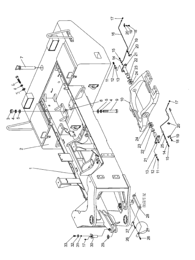
Задняя рама 500F

№ п/п

Код деталей

Наименование

Коли-во

Примечание

1

251804784

后车架

Задняя рама

1

配潍柴发动机Оборудовано двигателем Вэйчай

251804688

1

配上柴发动机Оборудовано двигателем Шайчай

2

251804408

配重

Противовес

1

 

3

805200124

螺母M36X3

Гайка

2

GB/T6171-2000

4

805300077

垫圈 36

Шайба

6

GB/T93-1987

5

805300047

垫圈 36

Шайба

6

GB/T97.1-2002

6

805002114

螺栓M36X3X300

Болт

2

GB/T5785-2000

7

252100775

牵引销

Палец тяги

1

随机工具带Сопроводительный инструментальный мешок

 

8

251500140

调整垫片

Регулировочная шайба

4

 

9

805002113

螺栓M36X3X280

Болт

2

GB/T5785-2000

10

250200492

付车架

Вспомогательная рама

1

 

11

805000699

螺栓M14X25

Болт

4

GB/T5783-2000

12

805301295

垫圈14

Шайба

4

GB/T93-1987

13

805300121

垫圈14

Шайба

4

GB/T96.1-2002

14

250200730

垫片

Шайба

4

 

15

250200189

通油螺栓

Болт

2

 

16

251800602

注油管

Заправочная труба

1

 

17

801100336

油杯M10X1

Маслёнка

4

JB/T7940.1-1995

18

805000033

螺栓M8X16

Болт

6

GB/T5783-2000

19

805300010

垫圈8

Шайба

3

GB/T93-1987

20

803604600

管夹

Трубный хомут

5

 

21

250200456

付车架销

Палец вспомогательной рамы

 

2

 

22

250200493

Гильза

 

2

 

23

250200178

垫片

Шайба

2

 

24

269900185

调整垫片

Регулировочная шайба

 

2

 

25

251800601

注油管

Заправочная труба

1

 

26

251500108

弹簧销

Пружинный палец

2

 

27

805601624

销B32X70

Палец

2

GB/T882-1986

28

251800380

连杆

Шатун

1

 

29

251901033

调整垫片

Регулировочная шайба

 

4

 

30

251400276

转向销

Поворачивающий палец

2

 

31

805300011

垫圈16

Шайба

2

GB/T96.1-2002

32

805301286

垫圈16

Шайба

2

GB/T93-1987

33

805000022

螺栓M16X25

Болт

2

GB/T5783-2000