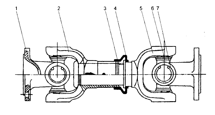
ЗАДНИЙ ПРИВОДНОЙ ВАЛ Z3.4.4А ML333N

Наименование Каталожный номер Комплект
1 Flange Yoke 2201С-023 2
2 Sleeve Yoke ZL30-210 1
3 Пружинное стопорное кольцо 2201D-016 2
4 Dustproof Sleeve 404202В 1
5 Slip Yoke Ass ZL30-220 1
6 Universal Joint 2201С-030 2
7 Пружинное стопорное кольцо ZZ01C-026 8