VALVE MECHANISM, COVER, BREATHER AND FUMES DISPOSAL GF1 C6121ZG57a

Ref.No.

 NAME

PART No.

 Quantity

7N8026

8N4745

1P4244

84DZ003

*1

配气机构部件 MECHANISM GP.-VALVE(A) (BASIC)

8N4576

1

     

**2

摇臂轴部件/ARM SHAFT AS. -ROCKER

8N3252

1

(3)

摇臂座 BRACKET-ROCKER ARM SHAFT

5S5878

4

(4)

摇臂轴弹簧/SPRING

4B4910

5

(5)

平垫圈/WASHER

9H1110(19.0×31.5×1.5)

12

**6

摇臂座部件 BRACKET ASSEMBLY-ROCKER ARM SHAFT

8S1499

1

**7

进气门摇臂部件/ARM GP-V ROCKER

8N3327(9Y1519)

6

(8)

进气门摇臂机加工部件 ARM GP-V ROCKER

9Y1521

6

**9

排气门摇臂部件/ARM GP-V ROCKER

8N3325(9Y1515)

6

(10)

排气门摇臂机加工部件 ARM GP-V ROCKER

9Y1516

6

(11)

气门调节螺钉 SCREW-VALVE ROCKER AD JUSTING

5S5917

12

(12)

六角螺母/NUT-FULL

3S2713(3/8-24)

12

(13)

平垫圈/WASHER

9M9886(19.0×31.5×0.8)

2

(14)

弹簧片/SPRING

9H1112

2

(15)

小卡环/RING-RETAINING (EXTERNAL)

9H1113

 

(16)

O 型密封圈/SEAL-O RING

8M4448(15.47×3.53)

1

(17)

气缸盖螺栓/BOLT

1B7709(5/8-11×203.2)

1

(18)

平垫圈/WASHER-HARD

2S0736(17.0×27.0×3.5)

1

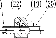
(19)

摇臂座/BRACKET-ROCKER ARM SHAFT

7N8015

1

(20)

摇臂轴(6 缸)/SHAFT AS.-ROCKER ARM

8N3251

1

(21)

螺塞/PLUG

84AL002

2

(22)

圆柱销/DOWEL

5M4606(4.605×57.0)

1

(23)

第一档摇臂座 BRACKET-ROCKER ARM SHAFT

8S1498

1

(24)

圆柱销/DOWEL

1L5072(4.605×15.75)

1

25

气门推杆部件/ROD-VALVE PUSH

5S5918

12

     

26

气门挺柱/LIFTER-VALVE

7S3161

12

27

气缸盖罩壳部件 COVER AS.-CYLINDER HEAD

2W1086

 

1

28

气缸盖罩壳垫片 GASKET-CYLINDERHEADCOVER

1331247

1

29

六角头螺栓/BOLT

0S1617(5/16-18×19.05)

15

30

弹簧垫片/LOCKWASHER-5/16

3B4505(7.98×14.58×2.46)

15

*31

通风帽部件/CAP AS.-BREATHE

2W9162

 

1

32

O 型密封圈/SEAL-O-RING

4L9564(81.92×5.33)

1

33

六角头螺栓/BOLT

3H3243(5/16-18×120.65)

1

34

平垫圈/WASHER-HARD

9N0869(8.8×25.5×2.0)

1

35

通气管/TUBE-FUMES DISPOSAL

84DL003

 

1

36

连接软管/HOSE

1N4102

 

37

喉箍/CLAMP

Q/SC1302-21~44

 

38

喉箍/CLAMP

Q/SC1302-27~51

1

39

夹圈/CLIP

1S4557(1.5/0.8)

 

40

夹圈/CLIP

84DL002

1

41

隔圈/SPACER

5B0546

 

42

衬套/BOSS

8B9725

 

43

六角头螺栓/BOLT

5P2228(1/2-13×25.4)

 

44

平垫圈/WASHER-HARD

8T4223(13.5×25.5×3.0)

 

45

六角螺母/NUT-FULL

6V8188(1/2-13)

 

46

六角头螺栓/BOLT

0T0573(3/8-16×69.85)

       

47

平垫圈/WASHER

5M2894(10.2×18.5×2.5)

       

(48)

轴用弹性挡圈 RING-RETAINING(INTERNAL)

GB/T894.1-18

2

     

49

卡簧/SPRING

161-1033