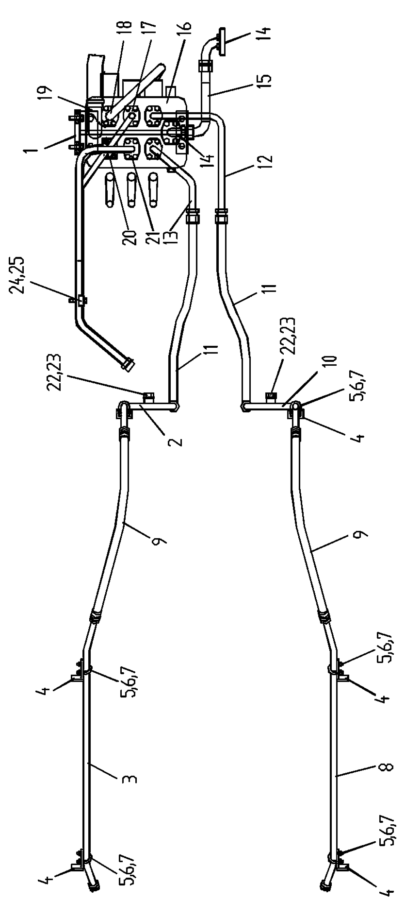
Триплексная система захватных клещей 300F

№ п/п

Код деталей

Наименование

Коли-во

Примечание

№ п/п

1

250100406

分配阀支架

Опора распределительного клапан

1

Z3.22.4

2

250900372

前车架硬管(右)

есткий рукав передней рамы (правый)

1

LW330F(II).37III.3.3

3

250900370

动臂右油管

Правая масляная труба стрелы

1

LW330F(II).37III.3.1

4

251900317

支架板

Опорная планка

6

ZLC30E.10-1

5

805300010

垫圈8

Шайба

14

GB/T93-1987

6

805200045

螺母M8

Гайка

14

GB/T6170-2000

7

250100362

“U”型螺栓

U-Болт

6

ZLC30E.10-2

8

250900376

动臂左油管

Левая масляная труба стрелы

1

LW330F(II).37III.3.5

9

250900371

软管总成

Шланговое соединение

4

LW330F(II).37III.3.2

10

250900374

前车架硬管(左)

Жеский рукав передней рамы (левый)

1

LW330F(II).37III.3.4

11

250500215

软管总成

Шланговое соединение

2

LWC320F.10.2.1

12

250500213

硬管总成

Жесткй рукав в сборе

1

LWC320F.10.1.5

13

250500214

硬管总成

Жесткй рукав в сборе

1

LWC320F.10.1.6

14

803164272

法兰组件

Блок фланцев

2

FPS 1 1/4

15

251700219

软管总成

Шланговое соединение

1

300F.07.1.2

16

803004040

多路阀

Многоканальный клапан

1

DF25.3B

17

250500211

分配阀至转斗缸后腔油管

Масляная труба от распределительного клапана до задней полости цилиндра вращательного ковша

1

LWC320F.10.1.3

18

250500210

分配阀至动臂缸后腔油管

Масляная труба от распределительного клапана до задней полости цилиндра стрелы

1

LWC320F.10.1.2

19

250100655

钢管

Стальная труба

1

Z3.10.5

20

250500209

分配阀至动臂缸前腔油管

Масляная труба от распределительного клапана до передней полости цилиндра стрелы

1

LWC320F.10.1.1

21

250500212

分配阀至转斗缸前腔油管

Масляная труба от распределительного клапана до передней полости цилиндра вращательного ковша

1

LWC320F.10.1.4

22

803107807

螺塞M14X1.5

Болт

2

JB1000-77

23

805301410

垫圈14

Шайба

2

Q/SC1294-2000

24

250100130

管夹

Трубный хомут

1

Z3.10-3

25

250100129

管夹

Трубный хомут

1

Z3.10-2