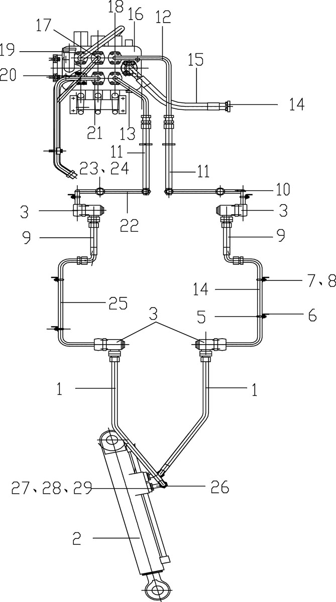
Триплексная гидросистема боковой разгрузки 300F

№ п/п

Код деталей

Наименование

Коли-во

Примечание

1

250900368

软管总成

Шланговое соединение

2

LW330F(Ⅱ)37Ⅲ.2.5

2

251901748

侧卸油缸

Маслоцилиндр боковой разгрузки

1

ZC3G.10.1.1

3

252101043

回转管接头

Штуцер поворотной трубы

4

ZJ5G(Ⅷ).7.5.8

4

250500222

动臂左钢管

Левая стальная труба стрелы

1

LWC320F.10.2.9

5

250100362

“U”型螺栓

U-Болт

6

ZLC30E.10-2

6

251900317

管架

Опора трубы

6

ZLC30E.10-1

7

805300010

垫圈8

Шайба

12

GB/T93-1987

8

805200045

螺姆M8

Гайка

12

GB/T6170-2000

9

250500219

软管总成

Шланговое соединение

2

LWC320F.10.2.5

10

250500434

前车架硬管(左)

Жеский рукав передней рамы (левый)

1

LWC320F.10.2.10A

11

250500215

软管总成

Шланговое соединение

2

LWC320F.10.2.1

12

250500427

硬管总成

Жесткй рукав в сборе

1

LWC320F.10.1.5

13

250500440

硬管总成

Жесткй рукав в сборе

1

LWC320F.10.1.6

14

803164272

法兰组件

Блок фланцев

2

FPS 1 1/4

15

251700233

软管总成

Шланговое соединение

1

300F.22.1.1

16

803004040

多路阀

Многоканальный клапан

1

DF25.3B

17

250500211

分配阀至转斗缸后腔油管

Масляная труба от распределительного клапана до задней полости цилиндра вращательного ковша

1

LWC320F.10.1.3

18

250500424

分配阀至动臂缸后腔油管

Масляная труба от распределительного клапана до задней полости цилиндра стрелы

1

LWC320F.10.1.2

19

250100810

钢管

Стальная труба

1

Z3.10.5

20

250500423

分配阀至动臂缸前腔油管

Масляная труба от распределительного клапана до передней полости цилиндра стрелы

1

LWC320F.10.1.1

21

250500426

分配阀至转斗缸前腔油管

Масляная труба от распределительного клапана до передней полости цилиндра вращательного ковша

1

LWC320F.10.1.4

22

250500433

前车架硬管(右)

Жесткий рукав передней рамы (правый)

1

LWC320F.10.2.3A

23

803100694

螺塞M14X1.5

Болт

2

JB/T1000-1977

24

805301410

垫圈14

Шайба

2

Q/SC1294-2000

25

250500220

动臂右钢管

Правая стальная труба стрелы

1

LWC320F.10.2.6

26

252601597

钢管

Стальная труба

1

300K.36.2.1

27

805000043

螺栓M10×30

Болт

8

GB/T5783-2000

28

805300014

垫圈10

Шайба 10

8

GB/T93-1987

29

801100061

O型密封圈

О-образное кольцо

2

GB/T3452.1-1992