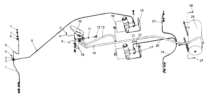
ТОРМОЗНАЯ СИСТЕМА LW330F(II).12 ML333N

Наименование Каталожный номер Комплект
1 Left Oil Pipe Z3.12.12В 1
2 Tee Connector ZL40.12.1 2
3 Шайба 8 GB93-87 6
4 Болт M8x30 GB5783-86 6
5 Right Oil Pipe Z3.12.1В 1
6 Коннектор ZL40.12.4-14 А 4
7 Уплотнительное кольцо 8x1.9 GB1235-76 8
8 Braking Pipe LW330F(II).12.1 1
9 Гайка М8 GB6170-86 4
10 Braking Control Valve SLZD-3514002 1
11 Шайба 22 JB982-77 8
12 Болт ZL40.12.5-1 5
13 Резиновая трубка LW330F(II).12.4 1
14 Резиновая трубка LW330F(II).12.3 1
16 Соединитель ZL50.12.9A-1 1
17 Левый кронштейн Z3.12-5A 1
18 Air Master Z3.12.7 1
19 Правый кронштейн Z3.12-1A 1
20 Braking Hose LW330F(II).12.2A 1
21 Болт M10x20 GB5783-86 4
22 Шайба 10 GB93-87 12
23 Right Oil Pipe Z3.12.16A 1
24 Left Oil Pipe Z3.12.9В 1
25 Воздушный резервуар Z3.12.11A 1
26 Болт M10x30 GB5783-86 8
27 Гайка М8 GB6170-86 4