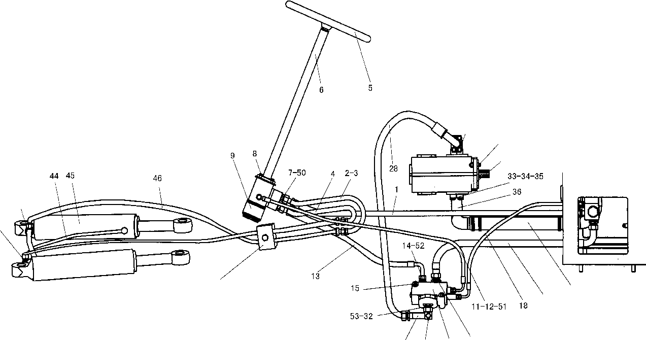
STEERING SYSTEM LG936
|
KEY |
PART NO. |
DESCRIPTION |
QTY |
REMARKS |
|
|
1 |
4041000516 |
软管 LGB164010150 |
PIPE LGB164010150 |
1 |
|
|
2 |
2920000402 |
转向器出油钢管 A |
OIL OUTLET TUBE OF STEERING GEAR(A) |
1 |
部件 |
|
3 |
4030000289 |
O 形圈 GB3452.1-16*1.8G |
O-RING GB3452.1-16*1.8G |
2 |
|
|
4 |
2920000403 |
转向器出油钢管 B |
OIL OUTLET TUBE OF STEERING GEAR(B) |
1 |
部件 |
|
5 |
4120000360 |
方向盘 FXP-950 |
STEERIGN WHEEL FXP-950 |
1 |
|
|
6 |
4120000019 |
转向柱 FZ2-770-HEaF |
STEERIGN COLUMN FZ2-770-HEaF |
1 |
|
|
7 |
4041000564 |
直接头 LGB12002620 |
TIE-IN LGB12002620 |
4 |
|
|
8 |
4011000475 |
螺栓 GB16674-M10*30EpZn-8.8 |
BOLT GB16674-M10*30EpZn-8.8 |
4 |
|
|
9 |
4120001317 |
转向器 BZZ5-500 |
STEERING GEAR BZZ5-500 |
1 |
|
|
10 |
4041000515 |
软管 LGB165012129 |
PIPE LGB165012129 |
1 |
|
|
11 |
2920000778 |
优先阀反馈油管 |
FEEDBACK OIL PIPE OF PRIORITY VALVE |
1 |
部件 |
|
12 |
4041000131 |
直接头 LGB12001412 |
TIE-IN LGB12001412 |
3 |
|
|
13 |
2920000825 |
转向器进油胶管 |
OIL PIPE OF STEERING GEAR |
1 |
|
|
14 |
4041000187 |
直接头 LGB12002622 |
TIE-IN LGB12002622 |
1 |
|
|
15 |
4011000302 |
螺栓 GB16674-M8*75EpZn-8.8 |
BOLT GB16674-M8*75EpZn-8.8 |
2 |
|
|
16 |
4120000709 |
优先阀 VLE-150 |
PRIORITY VALVE VLE-150 |
1 |
|
|
17 |
4041000188 |
直接头 LGB12003028 |
TIE-IN LGB12003028 |
1 |
|
|
18 |
4041000514 |
软管 LGB165003121 |
PIPE LGB165003121 |
1 |
|
|
19 |
4012000003 |
螺柱 GB898-M12*35EpZn-8.8 |
SCREW BOLT GB898-M12*35EpZn-8.8 |
4 |
|
|
20 |
4015000168 |
垫圈 GB97.1-12EpZn-300HV |
WASHER GB97.1-12EpZn-300HV |
4 |
|
|
21 |
4013000011 |
螺母 GB6170-M12EpZn-8 |
NUT GB6170-M12EpZn-8 |
4 |
|
|
22 |
4120000866 |
转向变速双联泵 CBGj2063/2040 |
TANDEM GEAR PUMP CBGj2063/2040 |
1 |
|
|
23 |
2911000004 |
泵用密封垫 |
SEAL WASHER OF PUMP |
1 |
耐油石棉橡胶板 |
|
24 |
2919000412 |
转向泵出油钢管 |
OUTLET PIPE OF STEERING PUMP |
1 |
部件 |
|
25 |
4011000475 |
螺栓 GB16674-M10*30EpZn-8.8 |
BOLT GB16674-M10*30EpZn-8.8 |
4 |
|
|
26 |
4041000026 |
分体法兰 LGB117310491 |
FLANGE LGB117310491 |
1 |
|
|
27 |
4030000026 |
O 形圈 GB3452.1-32.5*3.55G |
O-RING GB3452.1-32.5*3.55G |
1 |
|
|
28 |
2919000413 |
转向泵至优先阀胶管 |
OIL-TUBE |
1 |
部件 |
|
29 |
2919000414 |
优先阀进油钢管 |
INLET PIPE OF PRIOPTRY VALVE |
1 |
部件 |
|
30 |
4041000774 |
螺塞 LGB13501422 |
PLUG LGB13501421 |
1 |
|
|
31 |
4041000767 |
O 形圈 LGB168-11124 |
O-RING LGB168-11124 |
1 |
|
|
32 |
4041000188 |
直接头 LGB12003028 |
TIE-IN LGB12003028 |
1 |
|
|
33 |
4030000028 |
O 形圈 GB3452.1-36.5*3.55G |
O-RING GB3452.1-36.5*3.55G |
1 |
|
|
34 |
4011000164 |
螺栓 GB16674-M10*35EpZn-8.8 |
BOLT GB16674-M10*35EpZn-8.8 |
4 |
|
|
35 |
4041000056 |
分体法兰 LGB117312550 |
FLANGE LGB117312550 |
1 |
|
|
36 |
2919000405 |
转向泵吸油钢管 |
OIL INLET TUBE OF STEERING PUMP |
1 |
|
|
37 |
4090000043 |
吸油胶管 HG4-763-45*450 |
OIL INLET PIPE HG4-763-45*450 |
1 |
|
|
38 |
4017000007 |
JB8870-d60 |
JB8870-d60 |
4 |
|
|
39 |
2921000408 |
钢管 |
TUBE |
1 |
部件 |
|
40 |
4030000275 |
O 形圈 GB3452.1-22.4*3.55G |
O-RING GB3452.1-22.4*3.55G |
2 |
|
|
41 |
4011000481 |
螺栓 GB16674-M8*30EpZn-8.8 |
BOLT GB16674-M8*30EpZn-8.8 |
4 |
|
|
42 |
4011000277 |
螺栓 GB16674-M8*40EpZn-8.8 |
BOLT GB16674-M8*40EpZn-8.8 |
4 |
|
|
43 |
2921000409 |
钢管 |
TUBE |
1 |
部件 |
|
44 |
4041000563 |
软管 LGB128006078 |
PIPE LGB128006078 |
2 |
|
|
45 |
4120001004 |
转向油缸 HSGL-80*45*327-594 |
STEERING CYLINDER HSGF-80*45*327-594 |
2 |
|
|
46 |
2921000766 |
转向缸进油胶管 |
OIL INPUT PIPE OF STEERING CYLINDER |
2 |
部件 |
|
47 |
2921000406 |
固定座 |
MOUNTED PLATE |
1 |
部件 |
|
48 |
2921000407 |
橡胶板 |
RUBBER BAR |
2 |
耐油橡胶 |
|
49 |
4011000476 |
螺栓 GB16674-M10*70EpZn-8.8 |
BOLT GB16674-M10*70EpZn-8.8 |
1 |
|
|
50 |
4041000783 |
O 形圈 LGB168-11724 |
O-RING LGB168-11724 |
4 |
|
|
51 |
4041000784 |
O 形圈 LGB168-10924 |
O-RING LGB168-10924 |
3 |
|
|
52 |
4041000771 |
O 形圈 LGB168-11924 |
O-RING LGB168-11924 |
1 |
|
|
53 |
4041000779 |
O 形圈 LGB168-12331 |
O-RING LGB168-12331 |
2 |