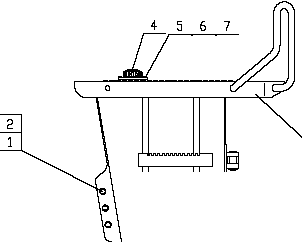
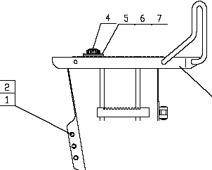
Система покрывающих деталей (топливный бак в сборе)

Ном.

Обозначение

Russian Description

Chinese Description

Размер

Количество

Замечание

1

GB/T93-1987

Прокладка

垫圈

16

5

 

2

GB/T97.1-2002

Прокладка

垫圈

16

5

 

3

GB/T5783-2000

болт

螺栓

M16×35-8.8

3

 

4

LG853.13.08.04

Воздушный фильтр

空气滤清器

 

1

 

5

GB/T5783-2000

болт

螺栓

M8×20-8.8

4

 

6

GB/T97.1-2002

Прокладка

垫圈

8

4

 

7

GB/T93-1987

Прокладка

垫圈

8

4

 

8

LG50C.13 IV.08.02

Корпус топливного бака

燃油箱体

 

1

 

9

LG853.13.08.05

Круглый маслоуказатель

圆形油标

 

3

 

10

LG855.13.08-001

Вал штифта

销轴

 

2

 

11

GB/T91-2000

Разводной штифт

开口销

4×50

2

 

12

LG853.13.08.03

крышка масловыпуска

放油盖

 

1

 

13

LG853.13.08-002

Прокладка

垫片

 

1

 

14

GB/T5783-2000

болт

螺栓

M10×25 -8.8

6

 

15

GB/T93-1987

Прокладка

垫圈

10

6

 

16

GB/T97.1-2002

Прокладка

垫圈

10

6

 

17

LG853.13.08-003

Магнит

磁铁

Φ80×Φ40×12

1

 

18

LG853.13.08-001

заглушка

堵头

 

1

 

19

LG853.13.08.02

Топливный фильтр в сборе

吸油滤油器总成

 

1