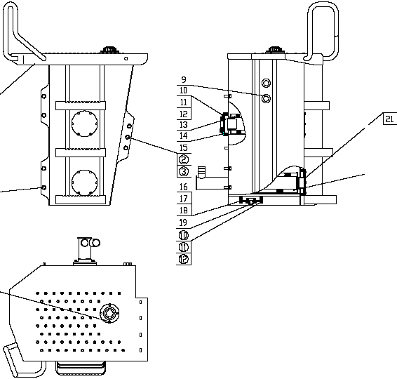
Система покрывающих деталей (гидробак в сборе)

Ном.

Обозначение

Russian Description

Chinese Description

Размер

Количество

Замечание

1

LG50C.13 IV.09.02

корпус гидравл. маслобака

液压油箱体

 

1

 

2

GB/T93-1987

Прокладка

垫圈

16

7

 

3

GB/T97.1-2002

Прокладка

垫圈

16

7

 

4

GB/T5783-1987

болт

螺栓

M16×40-8.8

4

 

5

LG853.13.08.04

Воздушный фильтр

空气滤清器

 

1

 

6

GB/T5783-2000

болт

螺栓

M8×20-8.8

4

 

7

GB/T93-1987

Прокладка

垫圈

8

16

 

8

GB/T97.1-2002

Прокладка

垫圈

8

16

 

9

LG853.13.08.05

Круглый маслоуказатель

圆形油标

 

2

 

10

GB/T5783-2000

болт

螺栓

M10×25 -8.8

6

 

11

GB/T93-1987

Прокладка

垫圈

10

12

 

12

GB/T97.1-2002

Прокладка

垫圈

10

12

 

13

LG855.13.09.05

фильтрационная установка

回油滤清器

 

1

 

14

LG853.13 II.09.02

сварка крышки фланца

法兰盖焊合

 

1

 

15

LG853.13.09-110

Прокладка

垫片

 

1

 

16

GB/T5783-2000

болт

螺栓

M16×35-8.8

3

 

17

LG853.13.08-003

Магнит

磁铁

Φ80×Φ40×12

1

 

18

LG853.13.08-002

Прокладка

垫片

 

2

 

19

LG853.13.08.03

крышка масловыпуска

放油盖

 

1

 

20

LG853.13.08-001

заглушка

堵头

 

1

 

21

LG855.13.09.05

фильтрационная установка

吸油滤清器

 

1

 

22

LG853.13.09-002

Прокладка

垫片

 

2

 

23

GB/T5783-2000

болт

螺栓

M8×25 -8.8

12

 

24

LG853.13.09.03

Фланцевая крышка

法兰盖

 

2