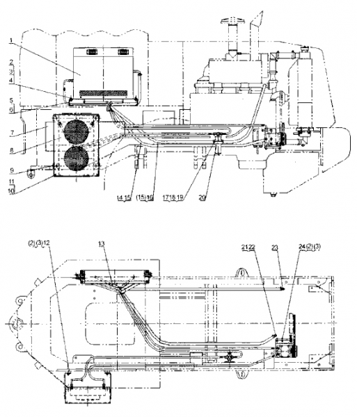
СИСТЕМА ОТОПЛЕНИЯ И КОНДИЦИОНИРОВАНИЯ КАБИНЫ 300F.14 ML333N

Наименование Каталожный номер Комплект
1 Воздушный кондиционер 5006090 1
  Компрессор   1
  Бак для жидкости   1
  Кондентсатор   1
  Испаритель   1
  A-strap 17-430   1
2 Болт M12x25 4005066 12
3 Шайба 12 4401009 12
4 Шайба 12 4404010 4
5 Передний кронштейн 9364702 1
6 Задний кронштейн 9364705 1
7 Left Plate 9347549 1
8 Plate 9332422 1
9 Кронштейн кондентсатора 9347554 1
10 Болт M8x16 4202093 4
11 Шайба 8 4404008 4
12 Fixing Block 9345829 4
13 Трубка 9348259 2
14 Водяная трубка 9348260 1
15 Double Steel Hoop 28-32 4А05024 4
16 Водяная трубка 9348261 1
17 Болт M6x20 4005030 2
18 Шайба 6 4401006 2
19 Гайка M6 4301007 2
20 Fixing Plate 9332421 1
21 Switch 5001309 1
22 Соединитель 9309930 1
23 Соединитель 9302347 1
24 Кронштейн компрессора 9332430 1