Система кондиционирования воздуха 500F

№ п/п

Код деталей

Наименование

Коли-во

Примечание

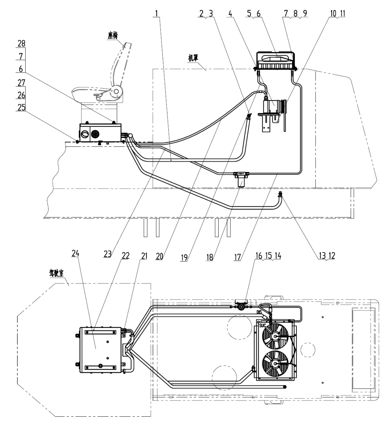
1

250300267

暖水水管

Hot water pipe

1

 

2

801902706

环箍16-25

Хомут

4

QC/T619-1999

3

250300125

暖风热水开关

Кран теплого воздуха и горячей воды

1

 

4

803502601

压缩机

Компрессор кондиционера

1

SE5H14Ремень ондиционера

5

860118449

冷凝器总成

конденсатора

1

TY46G-020000

Ремень кондиционера

6

250400404

风罩

Колпак вентилятора

 

1

 

7

805000713

螺栓M10X45

Болт

4

GB/T5783-2000

8

805300017

垫圈10

Шайба

8

GB/T97.1-2002

9

805301284

垫圈10

Шайба

8

GB/T93-1987

10

252108810

252000109

空调压缩机支架

Опора компрессора

1

Оборудована марка WEICHAI

Оборудована марка SHANGCHAI

11

250700107

连接板

Соединительная планка

 

1

Оборудована марка SHANGCHAI

 

12

250300239

暖水水管

Водяная труба теплой воды

1

 

13

250200223

接头

Соединитель

1

 

14

805000322

螺栓M6X16

Болт

2

GB/T5783-2000

15

805301294

垫圈6

Шайба

2

GB/T93-1987

16

805200053

螺母M6

Гайка

2

GB/T6170-2000

17

 

胶管总成(冷—储)

Резиновая труба в сборе (от охладителя до ресивера)

1

3104140Ремень кондиционера

18

860114224

储液罐总成

Резурвный резервуар

1

TY46G-050000

Ремень кондиционера

19

 

胶管总成(压—冷)

Резиновая труба в сборе (от компрессора до охладителя)

1

4003150Ремень кондиционера

20

 

胶管总成(蒸—压)

Резиновая труба в сборе (от выпарителя до компрессора)

1

6003220Ремень кондиционера

21

 

热水管接头组件

Блок соединения трубы горячей воды

3

Ремень кондиционера

22

803502480

803502481

空调总成

Кондиционер в сборе

1

XGKT460N-9

XGKT460N-10

23

 

胶管总成(储—蒸)

Резиновая труба в сборе (от ресивера до выпарителя

1

3103200 Ремень кондиционера

24

860118450

蒸发器总成

Выпаритель в сборе

1

TY46D5-010000

Ремень кондиционера

кондиционера

25

805000237

螺栓M8X45

Болт

4

GB/T5783-2000

26

805300069

垫圈8

Шайба

4

GB/T97.1-2002

27

805301283

垫圈8

Шайба

4

GB/T93-1987

28

805200048

螺母M10

Гайка

4

GB/T6170-2000