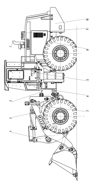
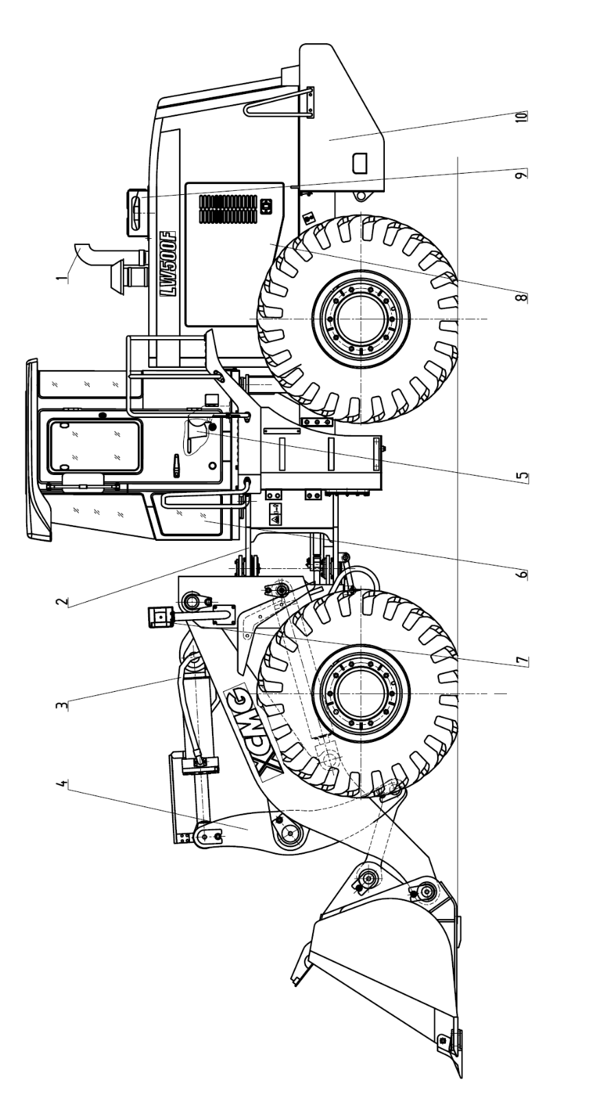
Сборочный чертеж целой машины 500F

№ п/п

Код деталей

Наименование

Коли-во

Примечание

1

 

动力与传动系统

Силовая и передаточная система

1

 

2

 

车架与附件

Рама и арматуры

1

 

3

 

液压系统

Рабочая гидросистема

1

 

4

 

工作装置

Рабочее устройство

1

 

5

 

制动系统

Тормозная система

1

 

6

 

操纵与驾驶室

Управление и кабина

1

 

7

 

电气系统

Электросистема

1

 

8

 

机罩

Капот машины

1

 

9

 

暖风与空调

Тепляк и кондиционер

1

 

10

 

随机工具

Сопроводительный инструмент

1