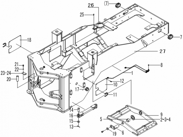
REAR FRAME LG936

KEY

PART NO.

DESCRIPTION

 

QTY

REMARKS

1

2110900007

副车架油管

OIL TUBE OF OSCILLATING FRAME

1

部件

2

2927000105

调整垫片

ADJUST SPACER

2

ZCuSn5Pb5Zn5

3

2927000106

调整垫片

ADJUST SPACER

2

ZCuSn5Pb5Zn5

4

2927000107

调整垫片

ADJUST SPACER

2

ZCuSn5Pb5Zn5

5

3110900006

BUSH

2

45

6

2927000859

焊接销轴

JOINTING PIN

2

 

7

2927000003

走线胶套

RUBBER SLEEVE

2

橡胶 I-2

8

4030000065

油杯 JB7940.1-M10*1

GREASE NIPPLE JB7940.1-M10*1

4

部件

9

2110900004

副车架

OSCILLATING FRAME

1

部件

10

2927000855

盖板

HOOD

1

Q235A

11

2927000779

橡胶套

RUBBER BUSH

2

橡胶 I-2

12

4011000102

螺栓 GB5783-M8*16EpZn-8.8

BOLT GB5783-M8*16EpZn-8.8

8

 

13

4016000040

开口销 GB91-6.3*50EpZn-Q235A

SPLIT PIN GB91-6.3*50EpZn-Q235A

2

 

14

4016000136

销轴 GB882-B30*75EpZn-35

PIN GB882-B30*75EpZn-35

2

 

15

4015000119

垫圈 GB97.1-30EpZn-300HV

WASHER GB97.1-30EpZn-300HV

2

 

16

2110900559

车架固定连杆

MOUNT BAR

1

部件

17

2927000755

走线胶套

RUBBER SLEEVE

1

橡胶 I-2

18

2927000855

盖板

HOOD

1

Q235A

19

4040000001

垫圈 LGB001-12*45*6

WASHER LGB001-12*45*6

2

 

20

3110900001

后转向销

REAR PIN OF STEERING CYLINDER

2

40Cr

21

4011000197

螺栓 GB5783-M12*25EpZn-8.8

BOLT GB5783-M12*25EpZn-8.8

6

 

22

4015000026

垫圈 GB93-12-65Mn

WASHER GB93-12-65Mn

4

 

23

2925000111

卡板

PLATE

2

Q235A

24

2925000112

卡板

PLATE

2

Q235A

25

4011000560

螺栓 GB16674-M12*25EpZn-8.8

BOLT GB16674-M12*25EpZn-8.8

2

 

26

2926000799

后车架

REAR FRAME

1

部件

27

2110900015

滤清器支架

BRACKET

1

部件