Передняя трансмиссия 500F

№ п/п

Код деталей

Наименование

Коли-во

Примечание

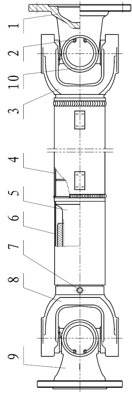
1

 

中传法兰叉

Вилка вланца промежуточного вала

1

 

2

860118445

十字轴总成

Крестовидный вал

2

HW-CA1160K2B

3

 

万向节叉

Вилка кардана

1

530F.1.2

Вилка кардана

4

 

轴管

Труба вала

1

 

5

 

花键轴

Шлицевой вал

1

530F.1.2

Шлицевой вал

6

 

护套

Защитный чехол

1

530F.1.2

Защитный чехол

7

801100336

油杯M10×1

Маслёнка M10×1

1

JB/T7940.1-1995

8

 

滑动叉

Скользащая вилка

1

530F.1.2

Скользащая вилка

9

 

突缘叉

Вилка с фланцем

1

530F.1.2

Вилка с фланцем

10

 

挡圈48

Борткольцо

8