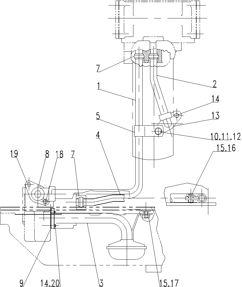
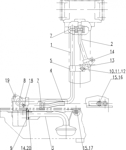
LINES GP-ENGINE OIL C6121ZG57a

Ref.No.

NAME

PART No.

Quantity

2P6105

1

机油滤清器机油管焊接部件/TUBE AS.

8N7318

1

2

机油滤清器机油管焊接部件/TUBE AS.

8N7315

1

3

机油泵吸油网焊接部件/BELL AS.

7W9020

1

4

机油泵油管加工部件/TUBE AS.

2P1739

1

5

夹头/CLIP

4L3641

1

6

活塞冷却喷嘴/ORIFICE

2S1541

6

7

O 型密封圈/SEAL

1142687(23.16×5.33)

3

8

垫片/GASKET

2M5407

1

9

垫片/GASKET

8M0904

1

10

隔圈/SPACER

1L5081

1

11

六角头螺栓/BOLT

0S1571

1

12

硬垫圈/WASHER

5M2894(10.2×18.5×2.5)

1

13

垫片/GASKET

7F7590

1

14

六角头螺栓/BOLT

0S1594(3/8-16×25.4)

3

15

六角头螺栓/BOLT

0T0102(3/8-16×15.88)

2

16

单耳止动垫片/LOCK

0L0364

1

17

单耳止动垫片/LOCK

5H3204

1

18

六角头螺栓/BOLT

0L2070(3/8-16×57.15)

1

19

六角头螺栓/BOLT

1A2029(3/8-16×28.58)

1

20

止动垫片/LOCK-NUT

8S8874

1