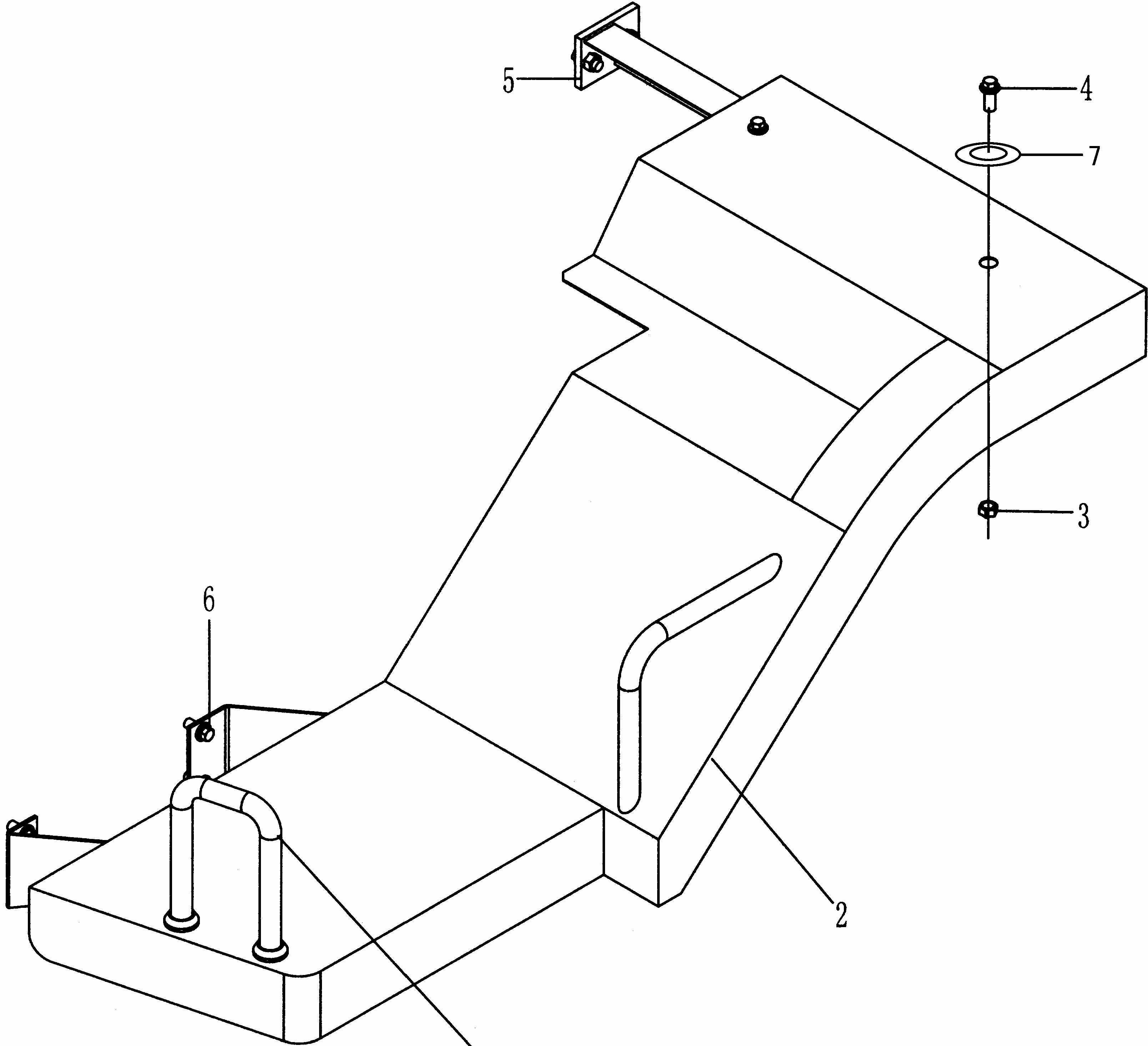
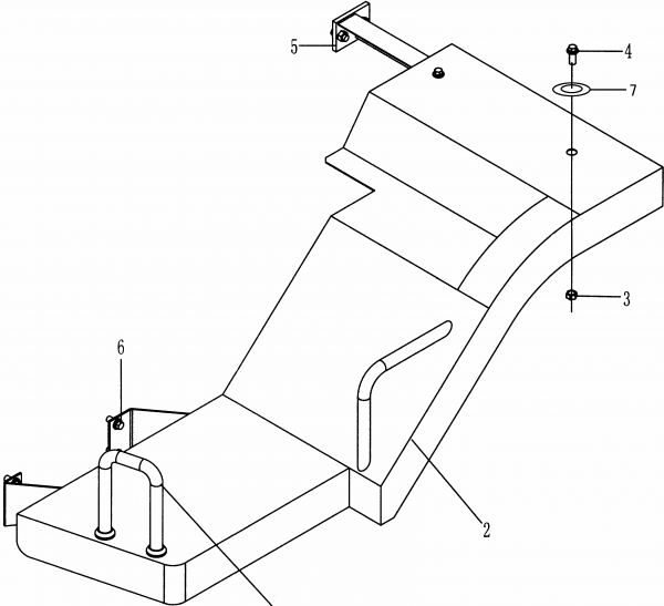
LEFT BENCH GROUP LG936

KEY

PART NO.

DESCRIPTION

 

QTY

REMARKS

1

2120900921

前扶手

FRONT HANDRAIL

1

 

2

2120900923

右台架

RIGHT BENCH

1

 

3

4013000011

螺母 GB6170-M12 EpZn-8

NUT GB6170-M12 EpZn-8

2

 

4

4011000560

螺栓 GB16674-M12*25EpZn-8.8

BOLT GB16674-M12*25EpZn-8.8

6

 

5

2120900056

右支承架

RIGHT SUPPORT FRAME

1

 

6

4011000137

螺栓 GB16674-M12*20EpZn-8.8

BOLT GB16674-M12*20EpZn-8.8

4

 

7

4015000168

垫圈 GB97.1-12EpZn-300HV

WASHER GB97.1-12EpZn-300HV

2