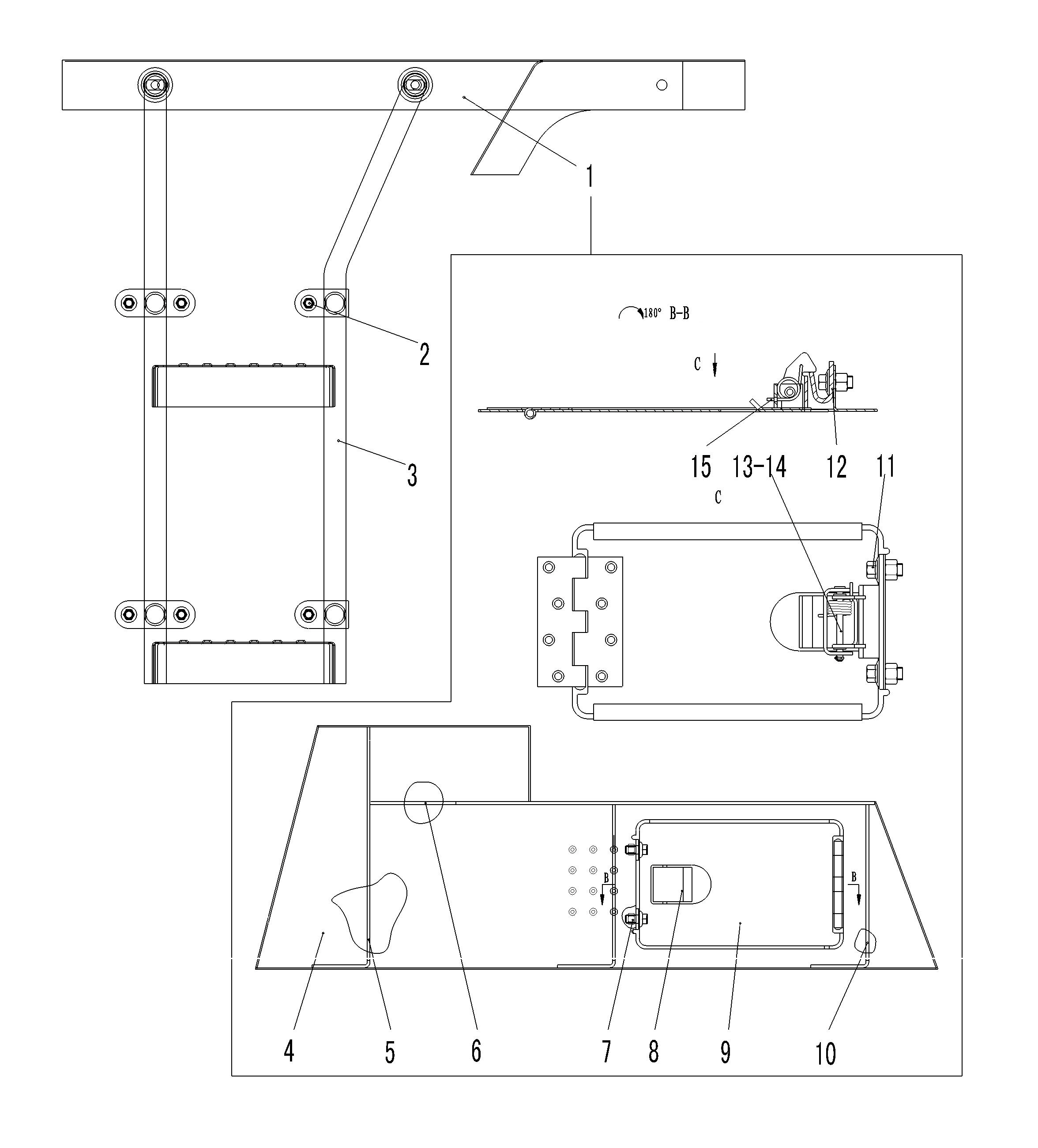
LEFT BENCH GROUP LG918

Key Part No.   Description Spare parts Y/N Oty
1 29340006691   LEFT ROOF ASSEMBLY Y 1

2

4011000560

螺栓GB16674-M12*25EpZn-8.8

BOLT GB16674-M12*25EpZn-8.8

N

8

3

29340006711

左扶梯

LEFT LADDER

N

1

4

29340006701

左顶板

LEFT ROOF

N

1

5

29340006571

加固板

GUSSET PLATE

N

1

6

29340006551

连接板

PLATE

N

1

7

4013000126

螺母GB889.2-M12*1.25EpZn-8

NUT GB889.2-M12*1.25EpZn-8

N

2

8

29340000991

扳手

SPANNER

Y

1

9

29340001051

门板

PLATE

Y

1

10

29340006561

加固板

GUSSET PLATE

N

2

11

4011000560

螺栓GB16674-M12*25EpZn-8.8

BOLT GB16674-M12*25EpZn-8.8

N

2

12

29340000981

挡板

BACK PLATE

Y

1

13

4016000140

销轴GB882-B6*70EpZn-35

PIN ROLL GB882-B6*70EpZn-35

N

1

14

4016000114

销GB91-2*16EpZn-Q235A

PIN GB91-2*16EpZn-Q235A

N

1

15

29340001001

弹簧

SPRING

Y

1