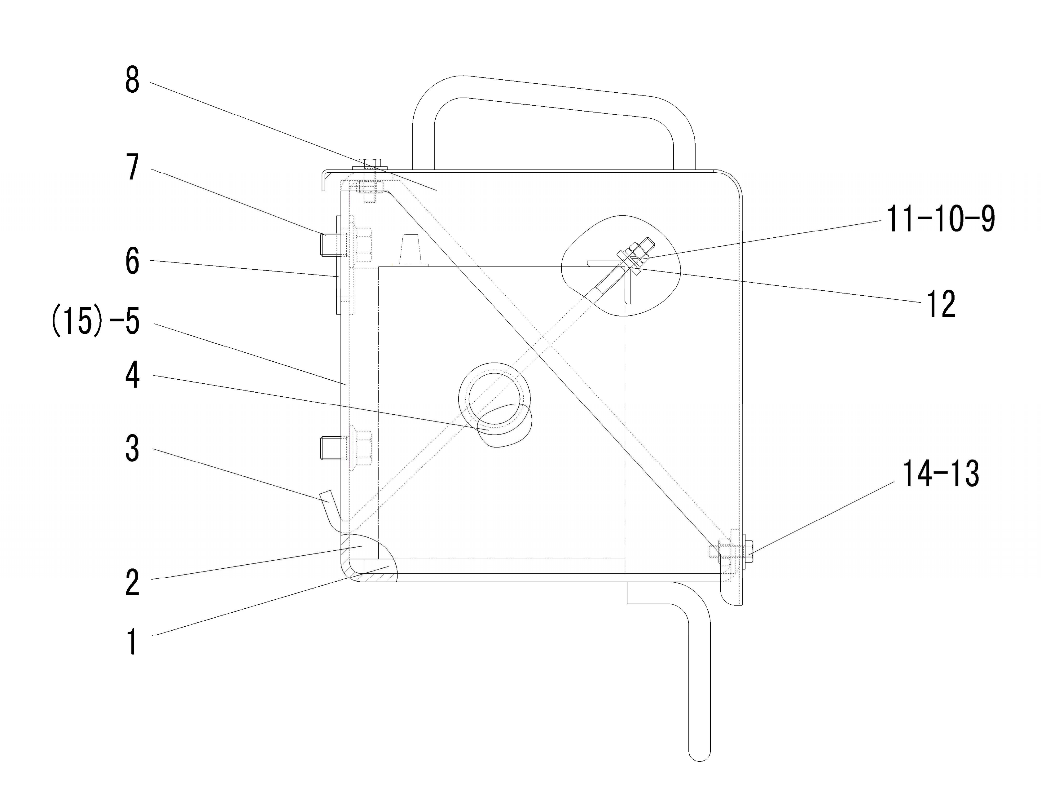
LEFT AND RIGHT BATTERY CASE LG918

Key Part No.   Description Spare parts Y/N Oty
1 29340006821   MAT OF PASTERN Y 2

2

29340006831

侧胶垫

MAT OF PASTERN

Y

2

3

29340006841

锁紧镙杆

BOLT OF MOUNT BAR

Y

2

4

29310000091

橡胶套

RUBBER

Y

1

5

29340016231

左电瓶支撑

POLING(LEFT)

Y

1

6

29340011901

走线胶套

RUBBER SLEEVE

Y

1

7

4011000485

螺栓GB16674-M16*20EpZn-8.8

BOLT GB16674-M16*20EpZn-8.8

N

4

8

29340016211

箱盖

TANK COVER

Y

1

9

4013000033

螺母GB6170-M8EpZn-8

NUT GB6170-M8EpZn-8

N

2

10

4015000036

垫圈GB93-8-65Mn

WASHER GB93-8-65Mn

N

2

11

4015000072

垫圈GB97.1-8EpZn-300HV

WASHER GB97.1-8EpZn-300HV

N

2

12

29340006931

锁紧角钢

BOLT OF MOUNT BAR

Y

1

13

4011000105

螺栓GB5783-M8*20EpZn-8.8

BOLT GB5783-M8*20EpZn-8.8

N

4

14

4015000256

垫圈GB96.1-8EpZn-300HV

WASHER GB96.1-8EpZn-300HV

N

4

15

29340017301

右电瓶支撑

POLING(RIGHT)

N

1