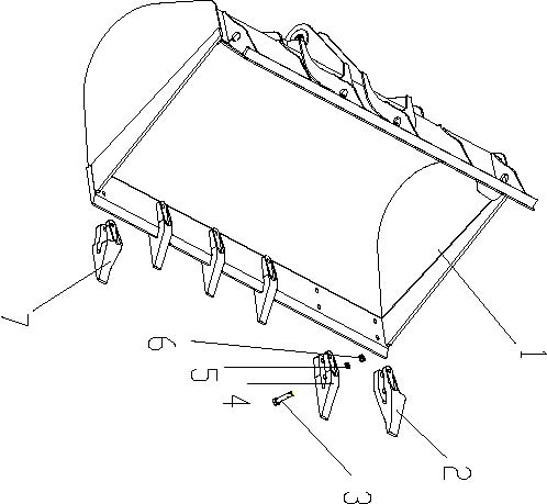
Ковш-лопата LW300KS

№ п/п

Код деталей

Наименование

Коли-во

Примечание

1

252604813

铲斗

Ковш-лопата

1

 

2

250900264

左边齿

Левый боковой зуб

1

 

3

252100838

螺栓

Болт

12

 

4

250200234

斗齿

Зуб ковша-лопаты

4

 

5

805300023

垫圈20

Шайба

12

GB/T93-1987

6

805200052

螺母M20

Гайка

12

GB/T6170-2000

7

250900263

右边齿

Правый боковой зуб

1