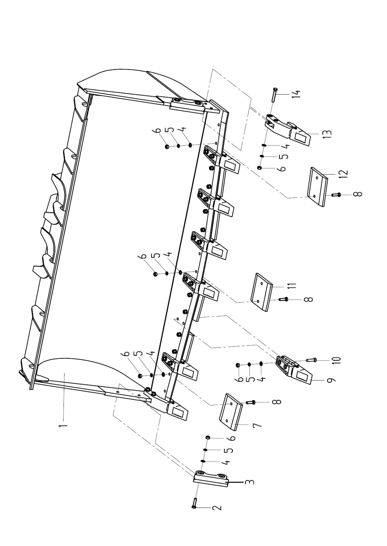
Ковш для пород 500F

№ п/п

Код деталей

Наименование

Коли-во

Примечание

1

252101776

铲斗

Ковш в сборе

1

 

2

805000113

螺栓M20X80

Болт

4

GB/T5783-2000

3

252101005

护套

Защитный чехол

2

 

4

805301276

垫圈20

Шайба

30

GB/T95-2002

5

805300023

垫圈20

Шайба

30

GB/T93-1987

6

805200052

螺母20

Гайка

30

GB/T 6170-2000

7

252101775

右刀块

Правое тело резца

3

 

8

805000379

螺栓M20X70

Болт

14

GB/T5783-2000

9

819906012

中间齿总成件

Промежуточный зуб в сборе

6

 

10

252100838

螺栓

Болт

12

 

11

252101773

中刀块

Среднее тело резца

1

 

12

252101774

左刀块

Левое тело резца

3

 

13

819906011

边齿总成件

Боковой зуб в сборе

2

 

14

805000250

螺栓M20X100

Болт

4

GB/T5783-2000