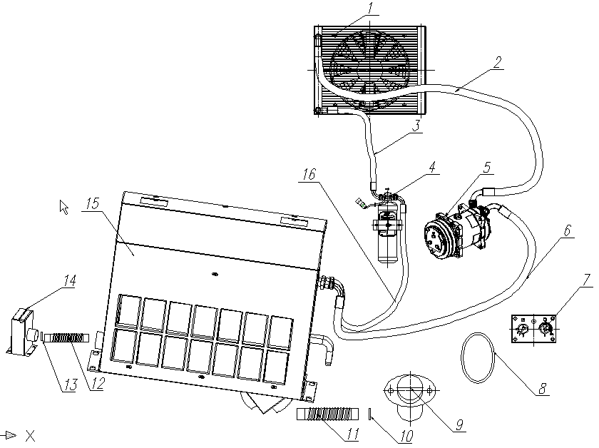
Кондиционер в сборе LW300KS

№ п/п

Код деталей

Наименование

Коли-во

Примечание

1

 

冷凝器总成

Конденсатор в сборе

1

T0200067

2

 

高压软管(压-冷)

Шланг высокого давления (под давлением-холодная вода)

1

T0310448

3

 

高压软管(冷-贮)

Гибкий рукав высокого давления (от охладителя до ресивера)

1

T0310572

4

 

贮液器总成

Резервуар в сборе

1

T0520048

5

 

压缩机总成

Компрессор в сборе

1

T0500009

6

 

低压软管(蒸-压)

Шланг низкого давления (от выпарителя до компрессора)

1

T0310451

7

 

控制面板

Панель управления

1

T0400002

8

 

传动带

Приводный ремень

1

T0860XXX

9

 

蒸发器转接管

Переходная труба выпарителя

2

T0131404

10

 

不锈钢喉箍

Хомут из нержавейки

6

T0900701

11

 

风管

Воздухоприводная труба

2

T0160087

12

 

风管

Воздухоприводная труба

1

T0160030

13

 

喉箍

Хомут

2

T0900145

14

 

新风盒组件

Блок коробки свежего воздуха

1

T0170063

15

 

蒸发器总成

Выпариватель в сборе

1

T0100173

16

 

高压软管(贮-蒸)

Шланг высокого давления (запас-пар)

1

T0310450