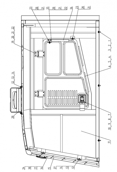
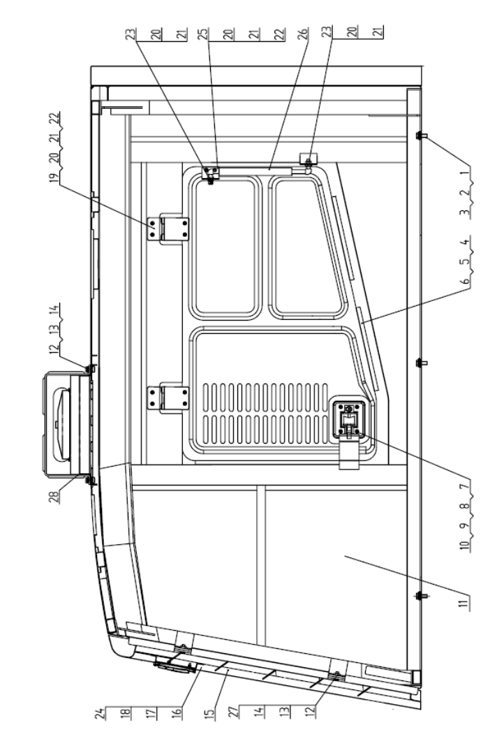
Капот двигателя (двигатель марка SHANGCHAI оборудует кондиционер) 500F

№ п/п

Код деталей

Наименование

Коли-во

Примечание

1

805000048

螺栓M12X35

Болт

6

GB/T5783-2000

2

805300018

垫圈12

Шайба

6

GB/T93-1987

3

805300020

垫圈12

Шайба

6

GB/T97.1-2002

4

251800650

左门总成

Левая дверь в сборе

1

 

5

251800577

右门总成

Правая дверь в сборе

1

 

6

801902765

门防震密封条L=4100mm

Амортизированный суташ двери

1

JT-03A

7

805300029

垫圈6

Шайба

8

GB/T97.1-2002

8

805300030

垫圈6

Шайба

8

GB/T93-1987

9

805000322

螺栓M6X16

Болт

8

GB/T5783-2000

10

802101245

门锁

Замок двери

2

182

11

251800818

机罩焊接总成

Hood Weld Assembly

1

 

12

805300017

垫圈10

Шайба

8

GB/T97.1-2002

13

805300014

垫圈10

Шайба

8

GB/T93-1987

14

805000043

螺栓M10X30

Болт

8

GB/T5783-2000

15

251800829

后挡罩

Rear Hood

1

 

16

805300119

垫圈5

Шайба

3

GB/T97.1-2002

17

805300109

垫圈5

Шайба

3

GB/T93-1987

18

805200046

螺母M5

Гайка

3

GB/T6170-2000

19

250900476

门铰链

Шарнир двери

4

 

20

805300069

垫圈8

Шайба

24

GB/T97.1-2002

21

805300010

垫圈8

Шайба

24

GB/T93-1987

22

805000018

螺栓M8X20

Болт

20

GB/T5783-2000

23

805200045

螺母M8

Гайка

4

GB/T6170-2000

24

250900479

标徽

Символ

1

 

25

250900484

门气撑杆固定支架

Фиксирующая бракета

2

 

26

801701502

气撑杆

Пневматическая упорка

2

QD19-510X165X400N-AA

27

805200048

螺母M10

Гайка

4

GB/T6170-2000

28

250400404

风罩

Колпак вентилятора

 

1

Оборудован тепляк

 

29

252904538

盖板

перекрышка

 

1

Оборудован тепляк