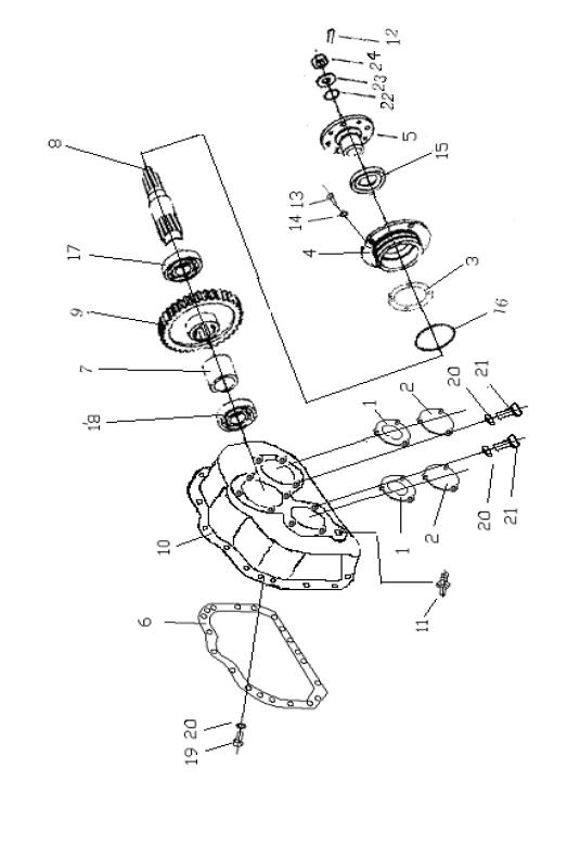
INPUT PART(370804) LG918

Key Part No.   Description Spare parts Y/N Oty
1 4110000218108 BDX05-00001 BEARING CAP BDX05-00001 Y 2

2

4110000218038

垫片BDX05-00002

GASKET BDX05-00002

Y

2

3

4110000218039

垫片BDX05-00003

GASKET BDX05-00003

Y

1

4

4110000218109

轴承座BDX05-00004

BEARING BLOCK BDX05-00004

Y

1

5

4110000218101

输入法兰盘BDX05-01000

INPUT RING FLANGE BDX05-01000

Y

1

6

4110000218092

密封垫BDX05-00006

SEALING PLATE BDX05-00006

Y

1

7

4110000218045

调整垫BDX05-00008

ADJUSTING SHIM BDX05-00008

Y

1

8

4110000218102

输入轴BDX05-00009

INPUT SHAFT BDX05-00009

Y

1

9

4110000218015

齿轮BDX05-00010

GEAR BDX05-00010

Y

1

10

4110000218021

传动箱壳体BDX05-00011

WHEEL BOX SHELL BDX05-00011

Y

1

11

4110000218065

管接头BDX05-00012

PIPE JOINT BDX05-00012

Y

1

12

4110000218075

开口销04050-04030

SPLINT PIN

Y

1

13

4110000218088

螺栓01010-31230 M12*30

BOLT 01010-31230 M12*30

Y

4

14

4110000011108

垫圈12 01602-11236

WASHER 01602-11236 12

Y

1

15

4110000218057

骨架油封 BAU48-70-10

SKELETON OIL SEAL BAU48-70-10

Y

1

16

4110000218004

O 形圈07000-02105 105*2.5

O-RING 07000-02105 105*2.5

Y

1

17

4021000021

滚动轴承GB276-6308

ROLLING BEARING GB276-6308

Y

1

18

4021000169

P轴承GB276-6006

BEARING GB276-6006

Y

1

19 4110000218087 01010-31030 M10*30 BOLT 01010-31030 M10*30 Y 15

20

4110000218040

停用-垫圈01602-11030 10

WASHER 01602-11030 10

Y

21

21

4110000218086

螺栓01010-31025 M10*25

BOLT 01010-31025 M10*25

Y

6

22

4110000218005

O 形圈07000-03032 32*3.5

O-RING 07000-03032 32*3.5

Y

1

23

4110000218022

大垫圈01643-32260

GREAT WASHER 01643-32260

Y

1

24

4110000218080

螺母BD05-00010

NUT BD05-00010

Y

1