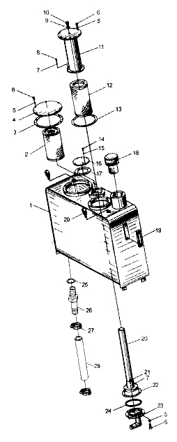
ГИДРОБАК ДЛЯ ГИДРАВЛИЧЕСКОГО МАСЛА 300F.07.1.1 ML333N

Наименование Каталожный номер Комплект
1 Бак 9364953 1
2 Фильтр 9306446 1
3 Шайба 9319530 1
4 Flange 9304025 1
5 Стопорная шайба 10 4401008 22
6 Болт M10x25 4005053 18
7 Стопорная шайба 6 4401006 12
8 Болт M6x18 4005313 6
9 Шайба 14 4829002 1
10 ЗаглушкаM14x1.5 4614004 1
11 Крышка 9309184 1
12 Фильтр 9309192 1
13 Шайба 9309170 1
14 Болт M8x20 4005040 4
15 Шайба 8 4401007 1
16 Крышка 9318068 1
17 Шайба 9318071 1
18 Масляный фильтр 5002151 1
19 Level Gauge 5000093 1
20 Соединитель 9309188 1
21 Болт М6х30 4005032 6
22 Шайба 6 4401006 12
23 Flange Joint 9364957 1
24 Уплотнительное кольцо 115x3.55 4827045 1
25 Шайба 27 4829008 1
26 Соединитель 9349342 1
27 Зажим 28-32 4А05024 1
28 Шланг 9349798 1
29 Болт М16 4213004 2