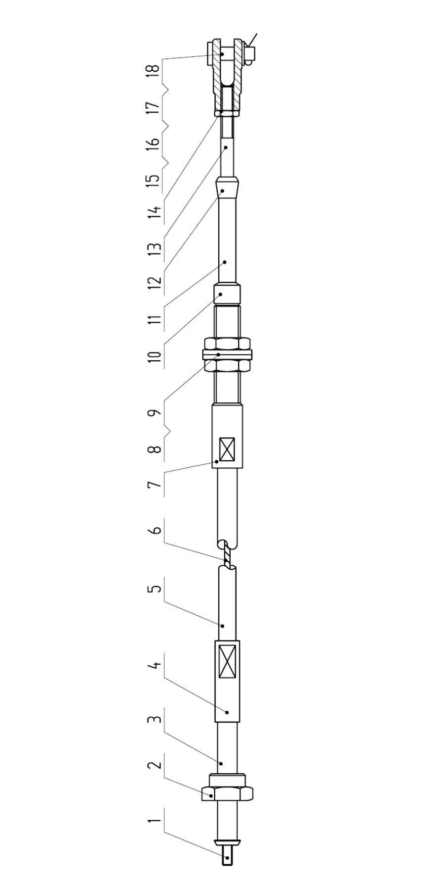
Гибкий вал 500F

№ п/п

Код деталей

Наименование

Коли-во

Примечание

1

 

拉杆M6XØ8X60XØ5.2

Рычаг

 

1

YOLBJ00103138

2

 

连通帽M16X1.5X17

Гайка

1

YBLBJ01204003

3

 

长接头Ø16X45

Длинное соединение

 

1

YBLBJ00601002

4

 

丝套M12X1.25X50XØ12

Футерка

1

YBLBJ00801002

5

 

软管Ø12

Гибкий рукав Ø12

1

YOLBJ02401005

6

 

芯子Ø5

Сердечник Ø5

1

YOLBJ02501004

7

 

螺纹接头M16X1.5X100XØ12

Соединение резьбы M16X1.5X100XØ12

1

YOLBJ00407013

8

 

平垫16(Ø17XØ30Xδ3)

Плоская

2

YBLBJ00311002

9

 

螺母M16X1.5

Гайка

2

YBLBJ00108004

10

 

密封帽Ø10

Уплотнительный колпачек Ø10

1

YOLBJ01803006

11

 

导向管Ø12X60XØ8.5

Направляющая труба Ø12X60XØ8.5

1

 

12

 

密封帽Ø8

Уплотнительный колпачекØ8

1

YOLBJ01803005

13

 

拉杆M8X100XØ5.2

Рычаг

 

1

 

14

 

螺母 M8

Гайка

1

YBLBJ00104006

15

 

叉接头M8XØ8X8.5X20

Соединение вилки M8XØ8X8.5X20

1

YOLBJ00303005

16

 

销轴Ø8X26

Вал пальца Ø8X26

1

YBLBJ00504002

17

 

开口销3.2X20

Шплинт 3.2X20

1

YBLBJ00604001

18

 

平垫8(Ø8.4XØ16Xδ1.6)

Плоская прокладка

1

YBLBJ00305003