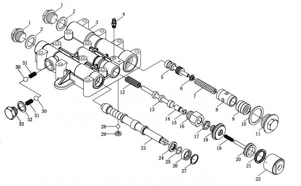
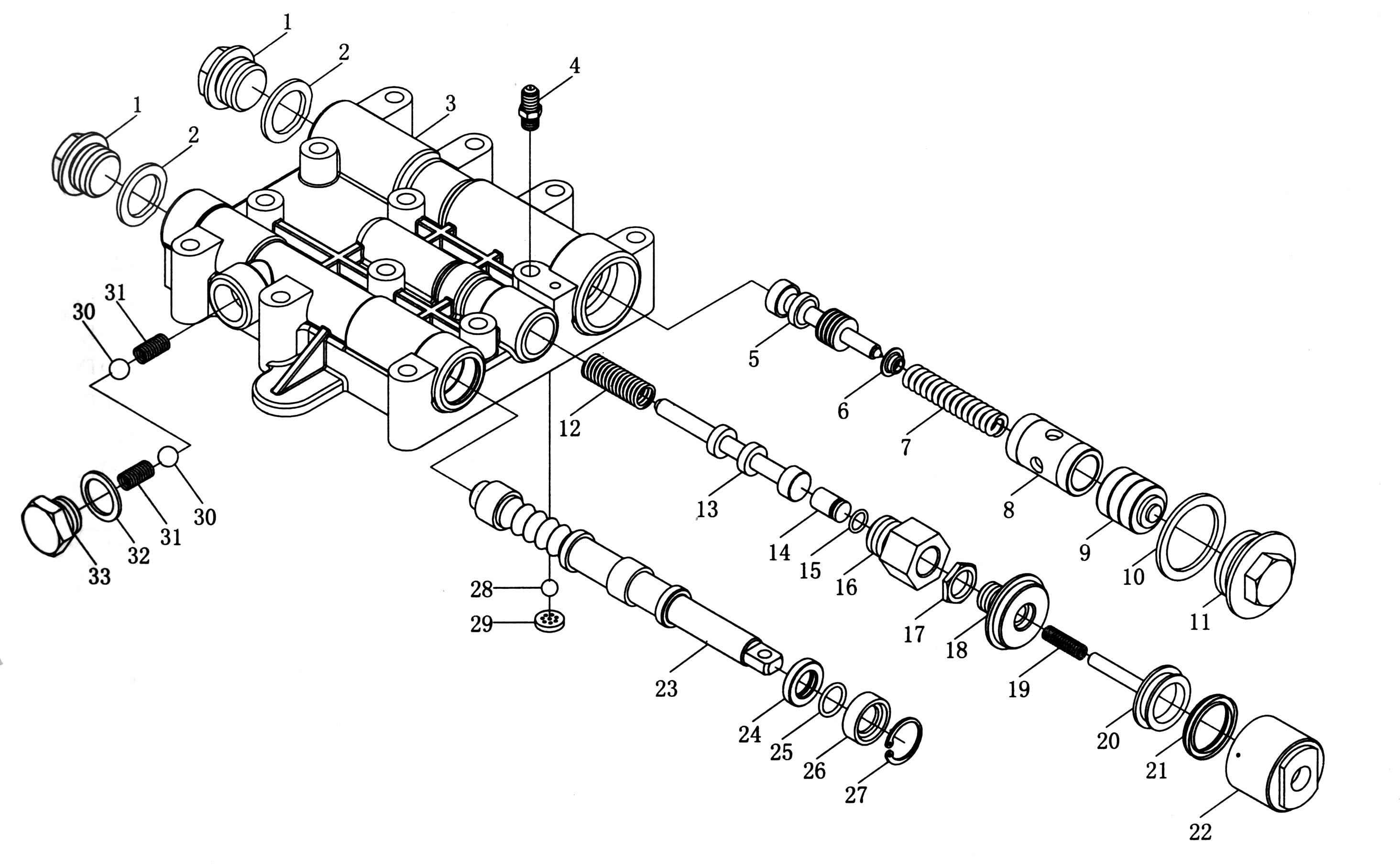
Gearbox (Ⅶ) Speed Change Valve YTO–ZL50D-II

No.

Parts Name

Drawing No.

Qty.

Assembly No.

1

Bolt

Washer

Valve

Manometer tie-in

Reduce pressure valve rod

Spring seat

Spring

Lock cover

Piece

Washer

Screw plug

Spring

Brake valve rod

Column plug

O ring 13×1.9

Bolt

Nut

Air valve seat

Spring

Air valve rod

Y sealing ring 32×40

Air valve body

Allocation valve rod

Retaining cover

403702

2

ZL50TY.04.02

2

402106

2

ZL50TY.04.02

3

403701A

1

ZL50TY.04.02

4

403727

1

ZL50TY.04.02

5

403704

1

ZL50TY.04.02

6

403725

1

ZL50TY.04.02

7

403724

1

ZL50TY.04.02

8

403723

1

ZL50TY.04.02

9

403722

1

ZL50TY.04.02

10

403721

1

ZL50TY.04.02

11

403720

1

ZL50TY.04.02

12

403706

1

ZL50TY.04.02

13

403705

1

ZL50TY.04.02

14

403718

1

ZL50TY.04.02

15

GB1235-76

1

ZL50TY.04.02

16

403719

1

ZL50TY.04.02

17

403717

1

ZL50TY.04.02

18

403712

1

ZL50TY.04.02

19

403714

1

ZL50TY.04.02

20

403713

1

ZL50TY.04.02

21

403715

1

ZL50TY.04.02

22

403716

1

ZL50TY.04.02

23

403708

1

ZL50TY.04.02

24

403711

1

ZL50TY.04.02

No.

Parts Name

Drawing No.

Qty.

Assembly No.

25

O ring D22×2.4

Framework oil sealing PD18×30×10

Retaining ring 30

Plastic ball 3/16

Round board

Steel ball 12.7

Spring

Washer

Bolt

GB1235-76

1

ZL50TY.04.02

26

JB2600-80

1

ZL50TY.04.02

27

GB893.1-86

1

ZL50TY.04.02

28

 

1

ZL50TY.04.02

29

403726

1

ZL50TY.04.02

30

GB308-84

2

ZL50TY.04.02

31

403707

2

ZL50TY.04.02

32

402001

1

ZL50TY.04.02

33

403710

1

ZL50TY.04.02