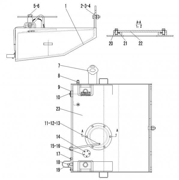
FUEL TANK ASSEMBLY LG918

Key Part No.   Description Spare parts Y/N Oty
1 29020007681   FUEL CASE N 1

2

4011000114

螺栓GB5785-M20*2*60EpZn-8.8

BOLT GB5785-M20*2*60EpZn-8.8

N

1

3

4013000040

螺母GB6171-M20*2EpZn-8

NUT GB6171-M20*2EpZn-8

N

1

4

4015000176

垫圈GB97.1-20EpZn-300HV

WASHER GB97.1-20EpZn-300HV

N

1

5

4011000446

螺栓GB5785-M24*2*120EpZn-8.8

BOLT GB5785-M24*2*120EpZn-8.8

N

2

6

4015000187

垫圈GB96.1-24EpZn-300HV

WASHE GB96.1-24-300HV

N

2

7

4120001404

带锁液压过滤器SL-50A

LOCK HYDRAULIC FILTER SL-50A

Y

1

8

4120000093

液位计YWZ-200

GAUGE LEVEL YWZ-200

Y

1

9

29020000062

垫圈

WASHER

Y

1

10

29020006581

滤油器总成

STRAINER ASS'Y

Y

1

11

4120000046

胶管JB8406-A10*560

HOSE JB8406-A10*560

Y

1

12

4017000010

喉箍JB8870-d20

CLIP JB8870-d20

N

1

13

29020006561

透气钢管

BREATHER TUBE

Y

1

14

4014000047

螺钉GB818-M5*8EpZn-4.8

SCREW GB818-M5*8EpZn-4.8

N

5

15

29020006851

垫片

SPACER

Y

1

16

29020006841

法兰盖

FLANGED CAP

Y

1

17

4011000455

螺栓GB16674-M8*25EpZn-8.8

BOLT GB16674-M8*25EpZn-8.8

N

2

18

4120000099

球阀MBS216-1/2"

BALL VALVE

Y

1

19 29020006591   GUARD PLATE Y 1

20

4011000447

螺栓GB16674-M10*20EpZn-8.8

BOLT GB16674-M10*20EpZn-8.8

N

6

21

4030000022

O形圈GB3452.1-200*7.00G

O-RING GB3452.1-200*7.00G

Y

1

22

29020006571

盖板

COVER PLATE

Y

1

23

29020007671

燃油箱总成

FUEL TANK ASSEMBLY

Y

1