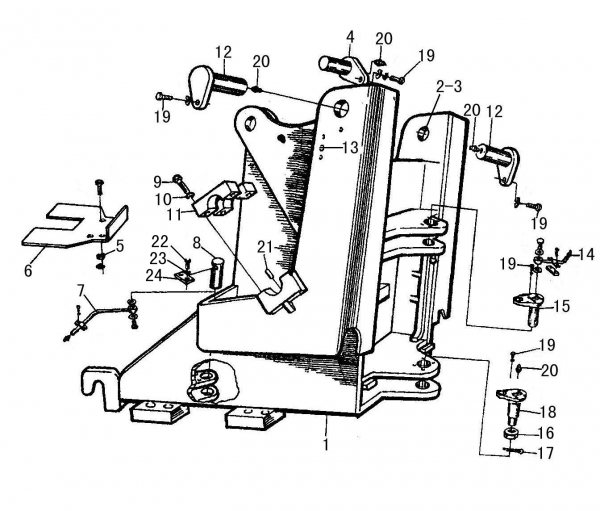
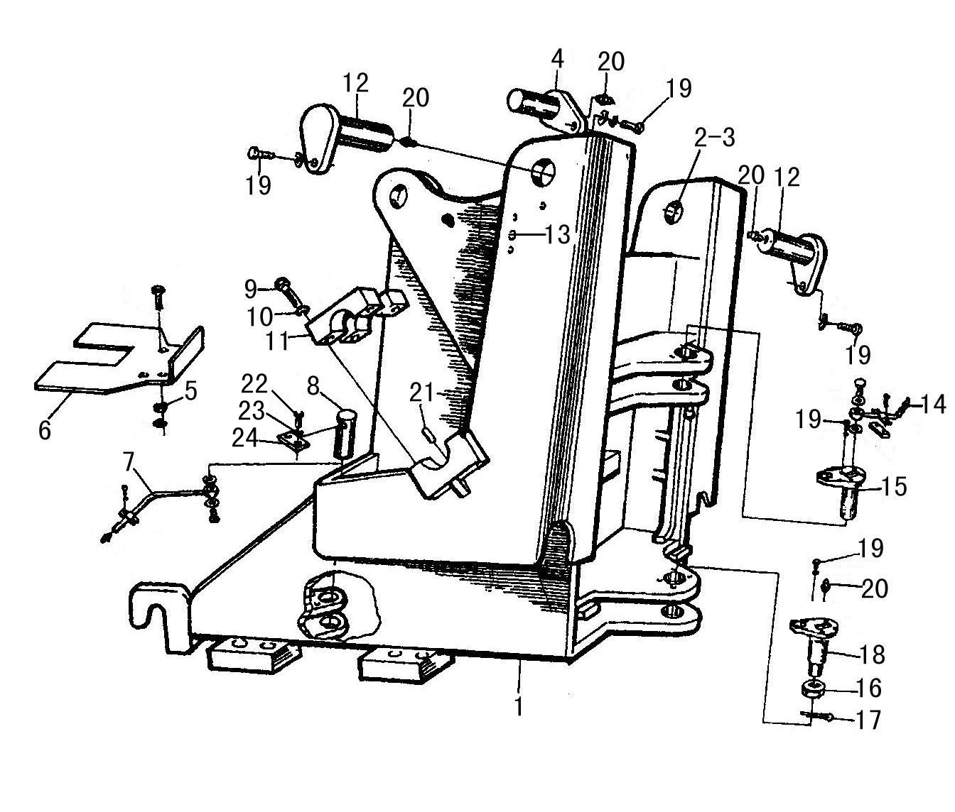
FRONT FRAME LG952

KEY

PART NO.

DESCRIPTION

 

QTY

REMARKS

1

2924000880

前车架

FRONT FRAME

1

部件

2

3110900490

垫片

SPACER

2 组

65Mn

3

3110900494

垫片

SPACER

2 组

65Mn

4

2110900132

翻斗缸销

REAR PIN FOR TILT CYLINDER

2

部件

5

4013000011

螺母 GB6170-M12EpZn-8

NUT GB6170-M12EpZn-8

4

8

6

2912001138

联接板

CONNECTING PLATE

1

Q235A

7

2110900133

注油管

TUBE

2

部件

8

2925000110

前转向销

FRONT PIN OF STEERING CYLINDER

2

40Cr

9

4011000069

螺栓 GB5782-M16*90EpZn-8.8

BOLT GB5782-M16*90EpZn-8.8

8

8.8

10

4015000098

垫圈 GB93-16-65Mn

WASHER GB93-16-65Mn

8

65Mn

11

3110900491

动臂油缸支承块

SUPPORTED BLOCK

4

Q235A

12

2110900134

动臂销

PIN FOR LIFT ARM

2

部件

13

2925000135

走线胶套

RUBBER SLEEVE

2

橡胶Ⅰ-2

14

2110900052

油孔引出管

TUBE

1

部件

15

2925000108

上铰接销

UP ARTICULATION PIN

1

部件

16

2925000106

开槽螺母

SLOTTED NUT

1

45

17

4016000113

开口销 GB91-6.3*63EpZn-Q235A

PIN GB91-6.3*63EpZn-Q235A

1

Q235A

18

2925000102

下铰接销

UP ARTICULATION PIN

1

部件

19

4011000094

螺栓 GB5783-M16*30EpZn-8.8

BOLT GB5783-M16*30EpZn-8.8

5

8.8

20

4030000065

油杯 JB7940.1-M10*1

GREASE NIPPLE JB7940.1-M10*1

12

部件

21

3110900493

定位销

DOWEL PIN

4

45

22

4011000197

螺栓 GB5783-M12*25EpZn-8.8

BOLT GB5783-M12*25EpZn-8.8

4

8.8

23

4015000026

垫圈 GB93-12-65Mn

WASHER GB93-12-65Mn

4

65Mn

24

2925000111

卡板

PLATE

2

Q235A