COOLER & FILTER GP -OIL C6121ZG57a

Ref.No.

NAME

PART No.

 Quantity

18AZ009

*1

机油冷却器芯子机加工部件 CORE AS.-OIL COOLER

7N0165

1

2

垫片/GASKET

5S6051

2

3

六角头螺栓/BOLT

1A2029(3/8-16×28.58)

3

4

油冷器盖/COVER

18AL009

1

5

内方头锥管螺塞 PLUG-PIPE (SQUARE COUNTERSUNK)

3B0551

1

6

六角头螺栓/BOLT

5F4899(3/8-16×139.7)

1

7

内方头锥管螺塞 PLUG-PIPE (SQUARE COUNTERSUNK)

1B5174(3/4-14)

1

8

六角锥管螺塞/PLUG-PIPE

3J5390(3/8-18×14.2)

1

9

垫片/GASKET

2W4561

1

10

六角头螺栓/BOLT

0S1591(3/8-16×38.10)

1

11

O 型密封圈/SEAL-O RING

8M4432(26.57×3.53)

2

12

机油滤清器部件/FILTER AS-OIL

2P4004(1R0658\1R0739)

1

*13

机油滤清器座装配部件 BASE GP-FILTER (OIL)

8N4457

1

14

六角头螺栓/BOLT

1D4540(5/16-18×69.85)

1

15

硬垫片/WASHER-HARD

9M1974(8.8×16×2.0)

4

16

六角头螺栓/BOLT

1B9575(5/16-18×44.45)

3

17

硬垫片/WASHER-HARD

5M2894 (10.2×18.5×2.5)

5

18

六角头螺栓/BOLT

3B1915(3/8-16×34.92)

1

19

六角头螺栓/BOLT

0L2070(3/8-16×57.15)

1

20

六角头螺栓/BOLT

0S1588(3/8-16×31.75)

3

21

水泵出水管/PIPE-PUMP OUTLET

2W5240

1

22

十二角头螺栓/BOLT-12 POINT HEAD

1T0765(3/8-16×25.40)

1

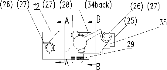
(23)

壳体/SHELL-CORE

7S6394

1

(24)

管束部件/BUNDLE AS.-TUBE

18AB005

1

(25)

滤清器座部件/BASE AS.-OIL FILTER

9Y7149

1

(26)

六角头螺栓/BOLT

0S1618(5/16-18×25.4)

2

(27)

平垫圈/WASHER-HARD

9M1974(8.8×16×2.0)

4

(28)

六角头螺栓/BOLT

1B2790(5/16-18×34.92)

2

(29)

螺套内接头/CONNECTOR

2P2537

1

(30)

盖/COVER

9Y6859

1

(31)

垫片/GASKET

9Y6860

1

(32)

弹簧/SPRING

8M3182

2

(33)

阀体 PLUNGER-OIL COOLER PELIEF VALVE

9M0853

2

(34)

内方头锥管螺塞 PLUG-PIPE (SQUARE COUNTERSUNK)

3B0551

3

(35)

内方头锥管螺塞 PLUG-PIPE (SQUARE COUNTERSUNK)

2B0858

1