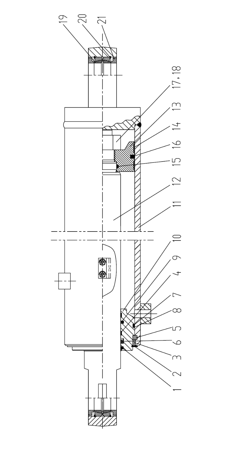
Цилиндр поворотного ковша LW300KS

№ п/п

Код деталей

Наименование

Коли-во

Примечание

1

 

防尘圈d90

Кольцо защиты от пыли

1

CK—090

2

 

轴用挡圈d150

Осевое упорное кольцо

1

GB894.1—86

3

 

挡环

Упорное кольцо

1

Z3.10.1—1

4

 

轴用斯莱圈95*2.5*9.4

Передаточный вал

2

Z3.10.1—2

5

 

卡键

Шпонка захвата

1

Z3.10.1—3

6

 

U形圈90*105*11.4

U-образное кольцо

1

B39005P5008

7

 

O形圈160*5.7

O-образное кольцо

1

GB1235—76

8

 

挡圈φ160*4.5*2

Борткольцо

1

Z3.10.1—4

9

 

轴用斯特封d90

Осевой уплотнитель

1

CKS—090

10

 

导向套

Направляющая втулка

1

Z3.10.1—5

11

 

缸体

Корпус цилиндра

1

XGYG01-127-01

12

 

活塞杆

Поршневой шток

1

XGYG01-127-02

13

 

活塞

Поршень

1

Z3.10.1—6

14

 

孔用斯莱圈160*2.5*14.7

Уплотняющая шайба

2

Z3.10.1—7

15

 

O形圈75*5.7

O-образное кольцо

1

GB1235—76

16

 

格莱圈D160

О-образная шайба

1

CKW—160

17

 

螺母

Гайка

1

Z3.10.1—8G

18

 

螺钉M8*20

Винт

1

GB79-85

19

 

关节轴承GE60ES

Откидной подшипник

2

GB304.5—81

20

 

孔用挡圈D90

Лабиринт для отверстия

4

GB893.1—86

21

 

骨架防尘圈

Каркасное пылезащитное кольцо

4

9D00-590300-03