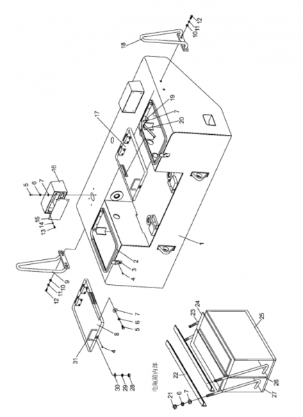
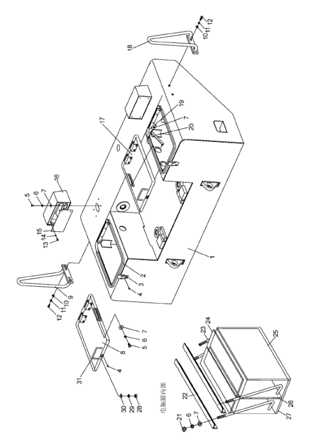
Часть противовеса 500F

№ п/п

Код деталей

Наименование

Коли-во

Примечание

1

251804381

配重

Противовес

1

 

2

251804380

密封条

Штабик

2

JT-05B

3

251804394

Замок

2

 

4

805100266

螺钉M4×12

Винт

10

 

5

805000033

螺栓M8×16

Болт

16

 

6

805301283

垫圈8

Шайба

20

GB/T93-1987

7

805300069

垫圈8

Шайба

24

GB/T97.1-2002

8

252904972

右工具箱盖

Крышка левого инструментального ящика

 

1

 

9

250700106

右后扶手架

Кронштейн право-заднего поручня

1

 

10

805300013

垫圈16

Шайба

4

GB/T97.1-2002

11

805300011

垫圈16

Шайба

4

GB/T93-1987

12

805000051

螺栓M16×40

Болт

4

GB/T5783-2000

13

252100432

灯后盖

Задняя крышка фары

2

 

14

805100056

螺钉M5×12

Винт

8

GB/T67-2000

15

805300119

垫圈5

Шайба

8

GB/T97.1-2002

16

252100428

灯架

Рамка фары

2

 

17

252904973

左电瓶箱盖

Крышка левой аккумуляторной коробки

1

 

18

250700111

左后扶手架

Кронштейн левозаднего поручня

 

1

 

19

805600029

销2×25

Палец

2

GB/T91-2000

20

252100434

撑杆

Подпора

2

 

21

805200045

螺母M8

Гайка

4

GB/T6170-2000

22

250900221

锁紧角钢

Блокировочный угольник

2

 

23

250900222

紧固螺栓

Крепежный болт

4

 

24

250200241

橡胶板

t1×550×330

Резиновая плата

2

 

25

250900223

隔板I

Перегородка I

2

 

26

250900224

隔板II

Перегородка II

2

 

27

250900225

垫板

Подложка

1

 

28

805200048

螺母M10

Гайка M10

4

GB/T6170-2000

29

805300014

垫圈10

Шайба 10

4

GB/T93-1987

30

805300102

垫圈10

Шайба 10

2

GB/T96.1-2002

31

252904970

扶手

Поручень

2