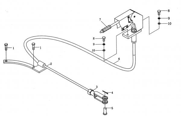
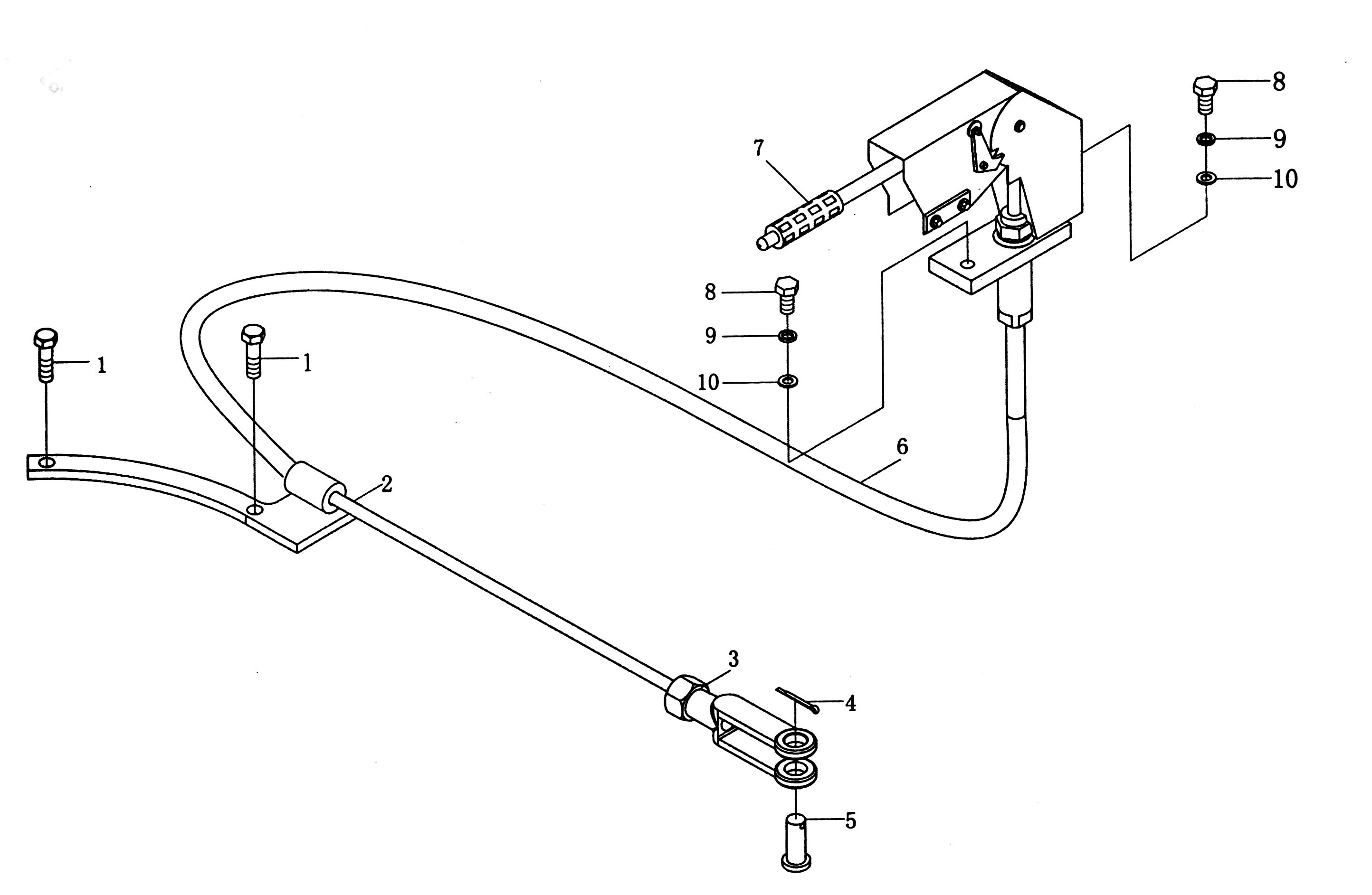
Brake System YTO–ZL50D-II

No.

Parts Name

Drawing No.

Qty.

Assembly No.

1

Bolt M10×35

Hand brake seat

Fork joint

Pin B3.2×20

Pin B10×32

Brake soft shaft

Control handle

Bolt M10×20/25

Washer 10

Washer 10-140HV

GB 5783-1986

2

ZL50TY·09.00

2

ZL50C-Ⅱ.9.1

1

ZL50TY·09.00

3

ZL50C-Ⅱ.9-1

1

ZL50TY·09.00

4

GB 91-1986

1

ZL50TY·09.00

5

GB 882-1986

1

ZL50TY·09.00

6

 

1

ZL50TY·09.00

7

 

1

ZL50TY·09.00

8

GB 5783-1986

2

ZL50TY·09.00

9

GB 93-1987

2

ZL50TY·09.00

10

GB 97.1-1985

2

ZL50TY·09.00